Минигидростанция привода боллард, противотаранных устройств, шлагбаумов PPC130204-HY-BEL-PUL
 Компактная минигидростанция для привода гидроцилиндров боллард (оградительных столбиков), противотаранных устройств и шлагбаумов.
   Компактная минигидростанция для привода гидроцилиндров боллард (оградительных столбиков), противотаранных устройств и шлагбаумов.Может работать от автомобильного аккумулятора. Предусмотрено ручное дублирование для аварийной работы.
По согласованию технические параметры могут быть изменены.
Технические характеристики:
| Максимальная производительность насоса, л/мин | 6 | 
| Рабочее давление, бар | 60 | 
| Частота вращения электродвигателя, об/мин | 4000 | 
| Тип | пост. тока, 12V | 
| Мощность, кВт | 0,8 | 
| Ёмкость гидробака, л | 2,5 | 
| Габаритные размеры | мм | 
| Длина (глубина) | 470 | 
| ширина | 250 | 
| Высота | 280 | 
| Температура окр. среды, оС | -5… +40 | 
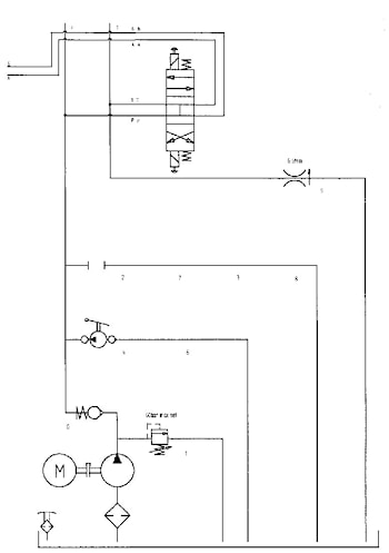
Гидравлическая схема:
 
 Габаритные размеры:
 
 Электрическая схема подключения гидростанции постоянного тока с пусковым и термореле для управления гидроцилиндром двухстороннего действия:

производитель
HYDRONIT
Если вы хотите купить минигидростанция привода боллард, противотаранных устройств, шлагбаумов PPC130204-HY-BEL-PUL  , вы можете:
 Позвонить: 

 
 
 
 
 
 
 
 
 
 
 
 
