Насос пластинчатый нерегулируемый типа Г12-3..М (АМ) и БГ12-2..М (АМ)
Насосы типа БГ12-2М(АМ) и Г12-3М (АМ) однопоточные и двухпоточные с постоянным по значению и направлению потоком масла устанавливаются в гидроприводах металлорежущих станков и других машин, где требуется давление до 6,3 МПа (насосы Г12-3), до 12,5 МПа (насосы БГ12-2) и нерегулируемый по величине поток минерального масла.БГ12-2..М(АМ) и Г12-3..М(АМ) соответствуют ТУ 2-024-0224533-025-089.
Насосы Г12, БГ12 изготавливаются с правым и левым вращением вала. Насосы Г12-3М и БГ12-2М выпускаются трех габаритов с рабочим объемом:
1-й габарит – 8…40 см3, 2-й габарит – 63…125 см3, 3-й габарит – 160…224 см3
Диапазон вязкости масла 17-400 мм²/с при температуре от +10 до +55° С. Тонкость фильтрации масла 25 мкм. Номинальная частота вращения вала 960 об/мин.
На данный момент насосы серии Г12-3, БГ12-2 сняты с производства. Вместо них выпускаются насосы пластинчатые типа НПЛ. Таблица взаимозамняемости насосов НПЛ и Г12 приведена в конце страницы.
Технические характеристики насосов типа БГ12-2:
| Параметр | БГ12- 21АМ | БГ12- 21М | БГ12- 22АМ | БГ12- 22М | БГ12- 23АМ | БП2- 23М | БГ12- 24АМ | БГ12- 24М | БГ12- 25АМ |
| Рабочий объем, см3 | 5 | 8 | 12,5 | 16 | 20 | 25 | 45 | 56 | 80 |
| Частота вращения, об/мин : | |||||||||
| номинальная | 1500 | 1500 | |||||||
| максимальная | 1800 | 1500 | |||||||
| минимальная | 1200 | 1500 | |||||||
| Номинальная подача, л/мин | 5,4 | 9 | 14,6 | 19,4 | 25,5 | 33 | 56 | 73,9 | 110,4 |
| Давление на выходе из насоса МПа /кгс/см2: | |||||||||
| номинальное | 12,5 /125 | ||||||||
| максимальное | 14 /140 | ||||||||
| Давление абсолютное на входе в насос, МПа /кгс/см /: | |||||||||
| максимальное | 0,12/1,2 | ||||||||
| минимальное | 0,08/0,8 | ||||||||
| Коэффициент подачи, %, не менее | 72 | 75 | 78 | 81 | 85 | 88 | 83 | 88 | 92 |
| КПД, %, не менее | 55 | 60 | 65 | 70 | 75 | 80 | 76 | 77 | 85 |
| Мощность номинальная потребляемая, кВт | 2 | 3,06 | 4,6 | 5,65 | 6,94 | 8,45 | 15,1 | 19,6 22 | 26,47 |
| Масса насоса, кг | 9,2 | ||||||||
Технические характеристики насосов типа Г12-3:
| Параметр | Объем, см3 | ||||||||||
| 8 | 12,5 | 16 | 25 | 32 | 40 | 63 | 80 | 125 | 160 | 224 | |
| Давление на выходе из насоса, МПа: | |||||||||||
| номинальное | 6,3 | 6,3 | 6,3 | 6,3 | 6,3 | 6,3 | 6,3 | 6,3 | 6,3 | 6,3 | 6,3 |
| максимальное | 7,0 | 7,0 | 7,0 | 7,0 | 7,0 | 7,0 | 7,0 | 7,0 | 7,0 | 7,0 | 7,0 |
| Давление на входе в насос абсолютное, МПа: | |||||||||||
| минимальное | 0,08 | 0,08 | 0,08 | 0,08 | 0,08 | 0,08 | 0,08 | 0,08 | 0,08 | 0,08 | 0,08 |
| максимальное | 0,12 | 0,12 | 0,12 | 0,12 | 0,12 | 0,12 | 0,12 | 0,12 | 0,12 | 0,12 | 0,12 |
| Рабочий объем, см3 | 8 | 12,5 | 16 | 25 | 32 - | 40 | 63 | 80 | 125 | 160 | 224 |
| Частота вращения, об/мин: | |||||||||||
| номинальная | 960 | 960 | 960 | 960 | 960 | 960 | 960 | 960 | 960 | 960 | 960 |
| максимальная | 1500 | 1500 | 1500 | 1500 | 1500 | 1500 | 960 | 960 | 960 | 960 | 960 |
| минимальная | 600 | 600 | 600 | 600 | 600 | 600 | 600 | 600 | 600 | 600 | 600 |
| Подача номинальная, л/мин | 5,8 | 9,7 | 12,7 | 21,1 | 27,9 | 35,7 | 53,8 | 70,0 | 110,4 | 142,8 | 204,2 |
| Мощность номинальная, кВт | 1,04 | 1,6 | 1,9 | 2,8 | 3,6 | 4,3 | 7,0 | 8,8 | 13,4 | 17,3 | 24,2 |
| Коэффициент подачи, %, не менее | 76 | 81 | 83 | 88 | 91 | 93 | 89 | 91 | 92 | 93 | 95 |
| КПД насоса, %, не менее | 58 | 65 | 70 | 78 | 81 | 85 | 80 | 82 | 85 | 85 | 87 |
| Масса насоса, кг, не более | 8,2 | 8,2 | 8,2 | 8,2 | 8,2 | 8,2 | 20 | 20 | 20 | 36 | 36 |
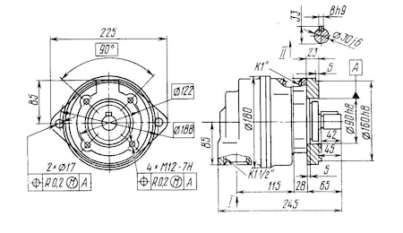
Габаритные и присоединительные размеры насосов ГАБАРИТ 1:
Г12-31АМ ... Г12-33М; БГ12-21АМ ... БГ12-23М

I- всасывание, II-нагнетание
Габаритные и присоединительные размеры однопоточных насосов ГАБАРИТ 2 :
Г12-24АМ, Г12-24М, Г12-25АМ, БГ12-24АМ, БГ12-24М, БГ12-25АМ

I- всасывание, II- нагнетание
Габаритные и присоединительные размеры двухпоточных насосов ГАБАРИТ 1+1:
5Г12-31АМ ... 35Г12-32М; 5БГ12-21АМ ... 35БГ12-23М

Габаритные и присоединительные размеры двухпоточных насосов ГАБАРИТ 2+2:
50Г12-24АМ ...100Г12-25АМ; 50БГ12-24АМ ... 100БГ12-25АМ

Габаритные и присоединительные размеры двухпоточных насосов ГАБАРИТ 2+1:
5Г12-24АМ ...35Г12-25АМ; 5БГ12-24АМ ... 35БГ12-25АМ

Габаритные и присоединительные размеры однопоточных насосов ГАБАРИТ 3:
Г12-25М, Г12-26АМ

I- всасывание, II- нагнетание
Габаритные и присоединительные размеры однопоточных насосов ГАБАРИТ 3+1 и 3+2:
5Г12-25М ... 100Г12-26АМ

Таблица взаимозаменяемости насосов пластинчатых типа Г12 и НПл
| Рном=6,3 МПа | Рном=16 МПа | |||||||
| Наименование Vраб.,см3/ давление, мПа | Старая маркировка | Подача литр/мин | Вес, кг | Наименование Vраб.,см3/ давление, мПа | Старая маркировка | Подача литр/мин | Вес, кг | |
| габарит 1 | габарит 1 | |||||||
| НПл 8/6,3 | Г12-31АМ | 5,8 | 9,7 | НПл 5/16 | БГ12-21АМ | 5,3 | 9,7 | |
| НПл 12,5/6,3 | Г12-З1М | 9,7 | НПл 8/16 | БГ12-21М | 8,9 | |||
| НПл 16/6,3 | Г12-32АМ | 12,7 | НПл12,5/16 | БГ12-22АМ | 14,4 | |||
| НПл 25/6,3 | Г12-32М | 21,1 | НПл 16/16 | БГ12-22М | 19,4 | |||
| НПл 32/6,3 | Г12-ЗЗАМ | 27,9 | НПл 20/16 | БГ12-23АМ | 25,5 | |||
| НПл 40/6,3 | Г12-ЗЗМ | 35,7 | НПл 25/16 | БГ12-23М | 33 | |||
| габарит 1+1 | габарит 1+1 | |||||||
| НПл 8-8/6,3 | 5Г12-31АМ | 5,8/5,8 | 19 | НПл 5-5/16 | 5БГ12-21АМ | 5,3/5,3 | 19 | |
| НПл 8-12,5/6,3 | 5Г12-31М | 5,8/9,7 | НПл5-8/16 | 5БГ12-21М | 5,3/8,9 | |||
| НПл 8-1 6/6,3 | 5Г12-32АМ | 5,8/12,7 | НПл 5-12,5/16 | 5БГ12-22АМ | 5,3/14,4 | |||
| НПл 8-25/6,3 | 5Г12-32М | 5,8/21,1 | НПл 5-16/16 | 5БГ12-22М | 5,3/19,4 | |||
| НПл 8-32/6,3 | 5Г12-ЗЗАМ | 5,8/27,9 | НПл 5-20/16 | 5БГ12-23АМ | 5,3/25,5 | |||
| НПл 8-40/6,3 | 5Г12-ЗЗМ | 5,8/35,7 | НПл 5-25/16 | 5БГ12-23М | 5,3/33 | |||
| НПл 12,5-12,5/6,3 | 8Г12-31М | 9,7/9,7 | НПл 8-8/16 | 8БГ12-21М | 8,9/8,9 | |||
| НПл 12,5-16/6,3 | 8Г12-32АМ | 9,7/12,7 | НПл 8-12,5/16 | 8БГ12-22АМ | 8,9/14,4 | |||
| НПл 12,5-25/6,3 | 8Г12-32М | 9,7/21,1 | НПл 8-16/16 | 8БГ12-22М | 8,9/19,4 | |||
| НПл 12,5-32/6,3 | 8Г12-ЗЗАМ | 9,7/27,9 | НПл 8-20/16 | 8БГ12-23АМ | 8,9/25,5 | |||
| НПл 12,5-40/6,3 | 8Г12-ЗЗМ | 9,7/35,7 | НПл 8-25/16 | 8БГ12-23М | 8,9/33 | |||
| НПл 16-16/6,3 | 12Г12-32АМ | 12,7/12,7 | НПл 12,5-12,5/16 | 12БГ12-22АМ | 14,4/14,4 | |||
| НПл 16-25/6,3 | 12Г12-32М | 12,7/21,1 | НПл 12,5-16/16 | 12БГ12-22М | 14,4/19,4 | |||
| НПл 16-32/6,3 | 12Г12-ЗЗАМ | 12,7/27,9 | НПл 12,5-20/16 | 12БГ12-23АМ | 14,4/25,5 | |||
| НПл 16-40/6,3 | 12Г12-ЗЗМ | 12,7/35,7 | НПл 12,5-25/16 | 12БГ12-23М | 14,4/33 | |||
| НПл 25-25/6,3 | 18Г12-32М | 21,1/21,1 | НПл 16-16/16 | 18БГ12-22М | 19,4/19,4 | |||
| НПл 25-32/6,3 | 18Г12-ЗЗАМ | 21,1/27,9 | НПл 16-20/16 | 18БГ12-23АМ | 19,4/25,5 | |||
| НПл 25-40/6,3 | 18Г12-ЗЗМ | 21,1/35,7 | НПл 16-25/16 | 18БГ12-23М | 19,4/33 | |||
| НПл 32-32/6,3 | 25Г12-ЗЗАМ | 27,9/27,9 | НПл 20-20/1 6 | 25БГ12-23АМ | 25,5/25,5 | |||
| НПл 32-40/6,3 | 25Г12-ЗЗМ | 27,9/35,7 | НПл 20-25/16 | 25БГ12-23М | 25,5/33 | |||
| НПл 40-40/6,3 | 35Г12-32М | 35,7/35,7 | НПл 25-25/16 | 35БГ12-23М | 33/33 | |||
| габарит 2 | габарит 2 | |||||||
| НПл 63/6,3 | Г12-24АМ | 53,8 | 25 | НПл 45/16 | БГ12-24АМ | 56,7 | 25 | |
| НПл 80/6,3 | Г12-24М | 69,9 | НПл 56/16 | БГ12-24М | 71,4 | |||
| НПл 125/6,3 | Г12-25АМ | 110,4 | НПл 80/16 | БГ12-25АМ | 105,6 | |||
| габарит 2+1 | габарит 2+1 | |||||||
| НПл 63-8/6,3 | 5Г12-24АМ | 53,8/5,8 | 32 | НПл 45-5/1 6 | 5БГ12-24АМ | 56,7/5,3 | 32 | |
| НПл 6З-12,5/6,3 | 8Г12-24АМ | 53,8/9,7 | НПл 45-8/16 | 8БГ12-24АМ | 56,7/8,9 | |||
| НПл 63-16/6,3 | 12Г12-24АМ | 53,8/12,7 | НПл 45-12,5/16 | 12БГ12-24АМ | 56,7/14,4 | |||
| НПл 63-25/6,3 | 18Г12-24АМ | 53,8/21,1 | НПл 45-1 6/1 6 | 18БГ12-24АМ | 56,7/19,4 | |||
| НПл 63-32/6,3 | 25Г12-24АМ | 53,8/27,9 | НПл 45-20/16 | 25БГ12-24АМ | 56,7/25,5 | |||
| НПл 63-40/6,3 | 35Г12-24АМ | 53,8/35,7 | НПл 45-25/16 | 35БГ12-24АМ | 56,7/33 | |||
| НПл 80-8/6,3 | 5Г12-24М | 69,9/5,8 | НПл 56-5/16 | 5БГ12-24М | 71,4/5,3 | |||
| НПл80-12,5/6,3 | 8Г12-24М | 69,9/9,7 | НПл 56-8/16 | 8БГ12-24М | 71,4/8,9 | |||
| НПл 80-16/6,3 | 12Г12-24М | 69,9/12,7 | НПл 56-1 2,5/16 | 12БГ12-24М | 71,4/14,4 | |||
| НПл 80-25/6,3 | 18Г12-24М | 69,9/21,1 | НПл 56-16/16 | 18БГ12-24М | 71,4/19,4 | |||
| НПл 80-32/6,3 | 25Г12-24М | 69,9/27,9 | НПл 56-20/16 | 25БГ12-24М | 71,4/25,5 | |||
| НПл 80-40/6,3 | 35Г12-24М | 69,9/35,7 | НПл 56-25/16 | 35БГ12-24М | 71,4/33 | |||
| НПл 125-8/6,3 | 5Г12-25АМ | 110,4/5,8 | НПл 80-5/16 | 5БГ12-25АМ | 105,6/5,3 | |||
| НПл125-12,5/6,3 | 8Г12-25АМ | 110,4/9,7 | НПл 80-8/16 | 8БГ12-25АМ | 105,6/8,9 | |||
| НПл 125-16/6,3 | 12Г12-25АМ | 110,4/12,7 | НПл 80-12,5/16 | 12БГ12-25АМ | 105,6/14,4 | |||
| НПл 125-25/6,3 | 18Г12-25АМ | 110,4/21,1 | НПл 80-1 6/16 | 18БГ12-25АМ | 105,6/19,4 | |||
| НПл 125-32/6,3 | 25Г12-25АМ | 110,4/27,9 | НПл 80-20/16 | 25БГ12-25АМ | 105,7/25,5 | |||
| НПл 125-40/6,3 | 35Г12-25АМ | 110,4/35,7 | НПл 80-25/16 | 35БГ12-25АМ | 105,6/33 | |||
| габарит 2+2 | габарит 2+2 | |||||||
| НПл 63-63/6,3 | 50Г12-24АМ | 53,8/53,8 | 46 | НПл 45-45/16 | 50БГ12-24АМ | 56,7/56,7 | 46 | |
| НПл 63-80/6,3 | 50Г12-24М | 53,8/69,9 | НПл 45-56/16 | 50БГ12-24М | 56,7/71 ,4 | |||
| НПл 63-125/6,3 | 50Г12-25АМ | 53,8/110,4 | НПл 45-80/1б | 50БГ12-25АМ | 56,7/105,6 | |||
| НПл 80-80/6,3 | 70Г12-24М | 69,9/69,9 | НПл 56-56/16 | 70БГ12-24М | 71,4/71 ,4 | |||
| НПл 80-125/6,3 | 70Г12-25АМ | 69,9/110,4 | НПл 56-80/16 | 70БГ12-25АМ | 71,4/105,6 | |||
| НПл 125-125/6,3 | 100Г12-25АМ | 110,4/110,4 | НПл 80-80/16 | 100БГ12-25АМ | 105,6/105,6 | |||
| габарит 3 | ||||||||
| Г12-25М | 135 | 40 | ||||||
| Г12-26АМ | 193 | |||||||
производитель
Гидропривод (г. Елец)
Если вы хотите купить насос пластинчатый нерегулируемый типа Г12-3..М (АМ) и БГ12-2..М (АМ) , вы можете:
Позвонить:
Ещё из раздела насосы пластинчатые нерегулируемые
Насосы пластинчатые нерегулируемые двукратного действия типа БГ12-4 используются в гидроприводах металлорежущих станков и др. машин, где требуется давление до 10 МПа и нерегулируемый по величине поток минерального масла. Насосы серии БГ12-4 ...

