Насос пластинчатый нерегулируемый типа НПл 63-160 бар, 5-125см3
63-160 бар, 5-125см3
Насосы типа НПл ТУ 2.053.1899-88 это гидравлические машины пластинчатого типа с нерегулируемой подачей создающие поток и давление рабочей жидкости в гидравлической системе.Благодаря плавности подачи, низкого уровня шума, высокой ремонтопригодности и надежности пластинчатые насосы типа НПл нашли широкое применение в промышленной, станочной гидравлике.
Насосы данного типа почти не применяются в гидроприводе мобильных машин и механизмов из-за большого веса и габаритных размеров и относительно малой мощности.
95% процентов станочного парка СНГ комплектуется насосами типа НПл.
Варианты исполнения насосов НПл: одно- и двухпоточные на давление 6,3 и 16 МПа.
Все пластинчатые насосы типа НПл стандартно выпускаются с правым вращением вала. По заказу возможно исполнение с левым вращением.
Насосы НПл работают на минеральных маслах марок ИГП-38, ВНИИ НП-403, температура масла от -10°С до +60°С, вязкость масла от 20 до 400 мм²/с (сСт).
Одно- и двухпоточные пластинчатые насосы НПл с рабочим объемом от 8 до 125 см³ и номинальным давлением на выходе 6,3МПа:
Пример условного обозначения насоса НПл при заказе: насос НПл 25/6,3 УХЛ4 -
однопоточный насос НПл с рабочим объемом 25 см³ на давление 6,3МПа.
Технические характеристики НПл…/6,3:
| Номинальное давление на выходе | 6,3 | МПа | |
| Рабочий объем | 8…125 | см3 | |
| Номинальная частота вращения | 960 | об/мин | |
| Ресурс, не менее | 3000 | ч |
Одно- и двухпоточные пластинчатые насосы НПл с рабочим объемом от 5 до 80 см³ и номинальным давлением на выходе 16 МПа:
Пример условного обозначения насоса НПл при заказе: насос НПл 25/16 УХЛ4 -
однопоточный насос НПл с рабочим объемом 25 см³ на давление 16МПа.
Насос пластинчатый двухпоточный габарита 1+1 на давление 16 МПа:

Насос пластинчатый однопоточный габарит 1:

Технические характеристики НПл…/16:
| Номинальное давление на выходе | 16 | МПа | |
| Рабочий объем | 5…80 | см3 | |
| Номинальная частота вращения | 1500 | об/мин | |
| Ресурс, не менее | 3000 | ч |
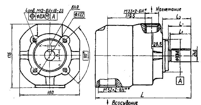
Габаритные и присоединительные размеры насосов габарита 1 — НПл 8/6,3...40/6,3, НПл 5/16...25/16

В насосах давлением 6,3 МПа изготовление резьбы по ГОСТ6111-52 *К1/2" **К3/4"
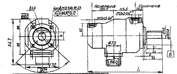
Габаритные и присоединительные размеры двухпоточных насосов типа НПл габарита 1+1

У двухпоточного насоса НПл техническая характеристика каждого насоса равна данным соответствующих моделей однопоточных насосов.
Номинальная мощность равна сумме мощностей однопоточных насосов.
| Модель насоса | a | b | c | d | e | f |
| НПл 5-5/16...НПл 25-25/16 | М22х1,5 | 40 | 25 | 22 | 50 | 57 |
| НПл 8-8/6,3...НПл 40-40/6,3 | К1/2" | К3/2" | 23 | 20 | 40 | 47 |
Габаритные и присоединительные размеры двухпоточных насосов габарита 2: НПл45/16, НПл56/16, НПл80/16, НПл63/6,3, НПл80/6,3, НПл125/6,3

В насосах давлением 6,3 МПа изготовление резьбы по ГОСТ6111-52 *К1" **К1 1/2"
| Обозначение насоса | L | L1 | L2 | L3 | h | b | d |
| НПл45/16, НПл56/16, НПл80/16 | 276 | 60 | 62 | 83 | 35 | 10 | 32 |
| НПл63/6,3, НПл80/6,3, НПл125/6,3 | 258 | 42 | 44 | 65 | 33 | 8 | 30 |
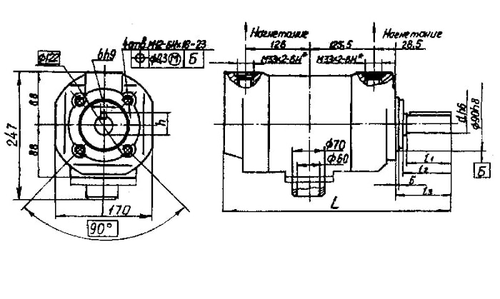
Габаритные и присоединительные размеры двухпоточных насосов габарита 2+1

В насосах давлением 6,3 МПа изготовление резьбы по ГОСТ6111-52 *К1/2" **К1"
| Обозначение насоса | L | L1 | L2 | L3 | h | b | d |
| НПл45-5/16 … НПл80-25/16 | 365 | 60 | 62 | 83 | 35 | 10 | 32 |
| НПл63-8/6,3…НПл125-40/6,3 | 346 | 42 | 44 | 65 | 33 | 8 | 30 |
Габаритные и присоединительные размеры двухпоточных насосов габарита 2+2

*В насосах на давление 6,3МПа изготовление 2-х отв. К1" по ГОСТ6111-52
| Обозначение насоса | L | L1 | L2 | L3 | h | b | d |
| НПл45-45/16 … НПл80-80/16 | 410 | 60 | 62 | 83 | 35 | 10 | 32 |
| НПл63-63/6,3…НПл125-125/6,3 | 392 | 42 | 44 | 65 | 33 | 8 | 30 |
Таблица взаимозаменяемости насосов пластинчатых типа Г12 и НПл
| Рном=6,3 МПа | Рном=16 МПа | |||||||
| Наименование Vраб.,куб.см/ давление.мПа | Стар, наим-е | Подача литр/мин | Вес, кг | Наименование Vраб.,куб.см/ давление.мПа | Стар, наим-е 12,5 МПа | Подача литр/мин | Вес, кг | |
| габарит 1 | габарит 1 | |||||||
| НПл 8/6,3 | Г12-31АМ | 5,8 | 9,7 | НПл 5/16 | БГ12-21АМ | 5,3 | 9,7 | |
| НПл 12,5/6,3 | Г12-З1М | 9,7 | НПл 8/16 | БГ12-21М | 8,9 | |||
| НПл 16/6,3 | Г12-32АМ | 12,7 | НПл12,5/16 | БГ12-22АМ | 14,4 | |||
| НПл 25/6,3 | Г12-32М | 21,1 | НПл 16/16 | БГ12-22М | 19,4 | |||
| НПл 32/6,3 | Г12-ЗЗАМ | 27,9 | НПл 20/16 | БГ12-23АМ | 25,5 | |||
| НПл 40/6,3 | Г12-ЗЗМ | 35,7 | НПл 25/16 | БГ12-23М | 33 | |||
| габарит 1+1 | габарит 1+1 | |||||||
| НПл 8-8/6,3 | 5Г12-31АМ | 5,8/5,8 | 19 | НПл 5-5/16 | 5БГ12-21АМ | 5,3/5,3 | 19 | |
| НПл 8-12,5/6,3 | 5Г12-31М | 5,8/9,7 | НПл5-8/16 | 5БГ12-21М | 5,3/8,9 | |||
| НПл 8-1 6/6,3 | 5Г12-32АМ | 5,8/12,7 | НПл 5-12,5/16 | 5БГ12-22АМ | 5,3/14,4 | |||
| НПл 8-25/6,3 | 5Г12-32М | 5,8/21,1 | НПл 5-16/16 | 5БГ12-22М | 5,3/19,4 | |||
| НПл 8-32/6,3 | 5Г12-ЗЗАМ | 5,8/27,9 | НПл 5-20/16 | 5БГ12-23АМ | 5,3/25,5 | |||
| НПл 8-40/6,3 | 5Г12-ЗЗМ | 5,8/35,7 | НПл 5-25/16 | 5БГ12-23М | 5,3/33 | |||
| НПл 12,5-12,5/6,3 | 8Г12-31М | 9,7/9,7 | НПл 8-8/16 | 8БГ12-21М | 8,9/8,9 | |||
| НПл 12,5-16/6,3 | 8Г12-32АМ | 9,7/12,7 | НПл 8-12,5/16 | 8БГ12-22АМ | 8,9/14,4 | |||
| НПл 12,5-25/6,3 | 8Г12-32М | 9,7/21,1 | НПл 8-16/16 | 8БГ12-22М | 8,9/19,4 | |||
| НПл 12,5-32/6,3 | 8Г12-ЗЗАМ | 9,7/27,9 | НПл 8-20/16 | 8БГ12-23АМ | 8,9/25,5 | |||
| НПл 12,5-40/6,3 | 8Г12-ЗЗМ | 9,7/35,7 | НПл 8-25/16 | 8БГ12-23М | 8,9/33 | |||
| НПл 16-16/6,3 | 12Г12-32АМ | 12,7/12,7 | НПл 12,5-12,5/16 | 12БГ12-22АМ | 14,4/14,4 | |||
| НПл 16-25/6,3 | 12Г12-32М | 12,7/21,1 | НПл 12,5-16/16 | 12БГ12-22М | 14,4/19,4 | |||
| НПл 16-32/6,3 | 12Г12-ЗЗАМ | 12,7/27,9 | НПл 12,5-20/16 | 12БГ12-23АМ | 14,4/25,5 | |||
| НПл 16-40/6,3 | 12Г12-ЗЗМ | 12,7/35,7 | НПл 12,5-25/16 | 12БГ12-23М | 14,4/33 | |||
| НПл 25-25/6,3 | 18Г12-32М | 21,1/21,1 | НПл 16-16/16 | 18БГ12-22М | 19,4/19,4 | |||
| НПл 25-32/6,3 | 18Г12-ЗЗАМ | 21,1/27,9 | НПл 16-20/16 | 18БГ12-23АМ | 19,4/25,5 | |||
| НПл 25-40/6,3 | 18Г12-ЗЗМ | 21,1/35,7 | НПл 16-25/16 | 18БГ12-23М | 19,4/33 | |||
| НПл 32-32/6,3 | 25Г12-ЗЗАМ | 27,9/27,9 | НПл 20-20/1 6 | 25БГ12-23АМ | 25,5/25,5 | |||
| НПл 32-40/6,3 | 25Г12-ЗЗМ | 27,9/35,7 | НПл 20-25/16 | 25БГ12-23М | 25,5/33 | |||
| НПл 40-40/6,3 | 35Г12-32М | 35,7/35,7 | НПл 25-25/16 | 35БГ12-23М | 33/33 | |||
| габарит 2 | габарит 2 | |||||||
| НПл 63/6,3 | Г12-24АМ | 53,8 | 25 | НПл 45/16 | БГ12-24АМ | 56,7 | 25 | |
| НПл 80/6,3 | Г12-24М | 69,9 | НПл 56/16 | БГ12-24М | 71,4 | |||
| НПл 125/6,3 | Г12-25АМ | 110,4 | НПл 80/16 | БГ12-25АМ | 105,6 | |||
| габарит 2+1 | габарит 2+1 | |||||||
| НПл 63-8/6,3 | 5Г12-24АМ | 53,8/5,8 | 32 | НПл 45-5/1 6 | 5БГ12-24АМ | 56,7/5,3 | 32 | |
| НПл 6З-12,5/6,3 | 8Г12-24АМ | 53,8/9,7 | НПл 45-8/16 | 8БГ12-24АМ | 56,7/8,9 | |||
| НПл 63-16/6,3 | 12Г12-24АМ | 53,8/12,7 | НПл 45-12,5/16 | 12БГ12-24АМ | 56,7/14,4 | |||
| НПл 63-25/6,3 | 18Г12-24АМ | 53,8/21,1 | НПл 45-1 6/1 6 | 18БГ12-24АМ | 56,7/19,4 | |||
| НПл 63-32/6,3 | 25Г12-24АМ | 53,8/27,9 | НПл 45-20/16 | 25БГ12-24АМ | 56,7/25,5 | |||
| НПл 63-40/6,3 | 35Г12-24АМ | 53,8/35,7 | НПл 45-25/16 | 35БГ12-24АМ | 56,7/33 | |||
| НПл 80-8/6,3 | 5Г12-24М | 69,9/5,8 | НПл 56-5/16 | 5БГ12-24М | 71,4/5,3 | |||
| НПл80-12,5/6,3 | 8Г12-24М | 69,9/9,7 | НПл 56-8/16 | 8БГ12-24М | 71,4/8,9 | |||
| НПл 80-16/6,3 | 12Г12-24М | 69,9/12,7 | НПл 56-1 2,5/16 | 12БГ12-24М | 71,4/14,4 | |||
| НПл 80-25/6,3 | 18Г12-24М | 69,9/21,1 | НПл 56-16/16 | 18БГ12-24М | 71,4/19,4 | |||
| НПл 80-32/6,3 | 25Г12-24М | 69,9/27,9 | НПл 56-20/16 | 25БГ12-24М | 71,4/25,5 | |||
| НПл 80-40/6,3 | 35Г12-24М | 69,9/35,7 | НПл 56-25/16 | 35БГ12-24М | 71,4/33 | |||
| НПл 125-8/6,3 | 5Г12-25АМ | 110,4/5,8 | НПл 80-5/16 | 5БГ12-25АМ | 105,6/5,3 | |||
| НПл125-12,5/6,3 | 8Г12-25АМ | 110,4/9,7 | НПл 80-8/16 | 8БГ12-25АМ | 105,6/8,9 | |||
| НПл 125-16/6,3 | 12Г12-25АМ | 110,4/12,7 | НПл 80-12,5/16 | 12БГ12-25АМ | 105,6/14,4 | |||
| НПл 125-25/6,3 | 18Г12-25АМ | 110,4/21,1 | НПл 80-1 6/16 | 18БГ12-25АМ | 105,6/19,4 | |||
| НПл 125-32/6,3 | 25Г12-25АМ | 110,4/27,9 | НПл 80-20/16 | 25БГ12-25АМ | 105,7/25,5 | |||
| НПл 125-40/6,3 | 35Г12-25АМ | 110,4/35,7 | НПл 80-25/16 | 35БГ12-25АМ | 105,6/33 | |||
| габарит 2+2 | габарит 2+2 | |||||||
| НПл 63-63/6,3 | 50Г12-24АМ | 53,8/53,8 | 46 | НПл 45-45/16 | 50БГ12-24АМ | 56,7/56,7 | 46 | |
| НПл 63-80/6,3 | 50Г12-24М | 53,8/69,9 | НПл 45-56/16 | 50БГ12-24М | 56,7/71 ,4 | |||
| НПл 63-125/6,3 | 50Г12-25АМ | 53,8/110,4 | НПл 45-80/1б | 50БГ12-25АМ | 56,7/105,6 | |||
| НПл 80-80/6,3 | 70Г12-24М | 69,9/69,9 | НПл 56-56/16 | 70БГ12-24М | 71,4/71 ,4 | |||
| НПл 80-125/6,3 | 70Г12-25АМ | 69,9/110,4 | НПл 56-80/16 | 70БГ12-25АМ | 71,4/105,6 | |||
| НПл 125-125/6,3 | 100Г12-25АМ | 110,4/110,4 | НПл 80-80/16 | 100БГ12-25АМ | 105,6/105,6 | |||
| габарит 3 | ||||||||
| Г12-25М | 135 | 40 | ||||||
| Г12-26АМ | 193 | |||||||
производитель
Гидропривод (г. Елец)
Если вы хотите купить насос пластинчатый нерегулируемый типа НПл , вы можете:
Позвонить:
Ещё из раздела насосы пластинчатые нерегулируемые
Насосы пластинчатые нерегулируемые двукратного действия типа БГ12-4 используются в гидроприводах металлорежущих станков и др. машин, где требуется давление до 10 МПа и нерегулируемый по величине поток минерального масла. Насосы серии БГ12-4 ...

