Фильтры сливные тип OMTF
Фильтры сливные серии OMTF предназначены для обеспечения эффективной очистки гидравлических жидкостей, предотвращая попадание загрязнений в гидравлические системы. Эти фильтры особенно подходят для использования в системах, требующих высокой надежности и долговечности.
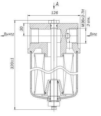
Корпус фильтра выполнен из высококачественных материалов: головка из алюминиевого сплава методом литья под давлением, а корпус фильтра — из нейлона, армированного стекловолокном, или стали с катафорезным покрытием (в зависимости от модели). Это обеспечивает высокую стойкость к механическим повреждениям и коррозии.
Фильтрующие элементы обладают высокой степенью очистки и изготавливаются из неорганических волокон и нержавеющей стали. Фильтры оснащены клапаном By-Pass, настроенным на срабатывание при давлении 0.17 МПа ± 10% (1.7 бар), что защищает систему от избыточного давления.
Эти фильтры совместимы с широким спектром минеральных масел (HH, HM, HR, HV, HG согласно ISO 6743/4) и могут использоваться в широком диапазоне рабочих температур от -25°C до +110°C. Максимальное рабочее давление фильтра составляет 0.8 МПа (8 бар), а давление разрыва — 1.0 МПа (10 бар).
Фильтры OMTF обеспечивают высокую степень защиты и долговечность, что делает их идеальным выбором для применения в различных гидравлических системах.
Условия эксплуатации
| Давление корпуса фильтра |
| Максимальное рабочее давление: |
| 0.8 МПа (8 бар) |
| Давление разрыва: |
| 1.0 МПа (10 бар) |
| Рабочая температура |
| от -25 до +110 °C |
| Совместимость с жидкостями - ISO 2943 |
| Совместимы с минеральными маслами типа (HH, HM, HR, HV, HG согласно ISO 6743/4) |
| КОРПУС ФИЛЬТРА |
| Головка/Крышка |
| Литьё под давлением из алюминия |
| Контейнер |
| OMTF09-11-17: Нейлон, армированный стекловолокном |
| OMTF22: Сталь с катафорезным покрытием |
| Соединительные порты Уплотнения |
| 1/2"-2" BSP (другие размеры по запросу) |
| N: Нитрил (Buna-N) |
| ФИЛЬТРУЮЩИЙ ЭЛЕМЕНТ |
| Замените фильтрующий элемент, как только рабочая температура достигнет максимального значения. |
| Концевые крышки |
| Оцинкованный лист |
| Опорная трубка |
| Оцинкованная сталь |
| Обратный клапан (By-Pass) |
| Настройка: 0.17 МПа ± 10% (1.7 бар) |

- Coperchio (Крышка) - Cover (Крышка)
- Guarnizione "O-Ring" (Уплотнительное кольцо "O-Ring") - Seal O-Ring (Уплотнительное кольцо "O-Ring")
- Valvola di by-pass (Обратный клапан) - By-pass valve (Обратный клапан)
- Elemento filtrante (Фильтрующий элемент) - Filter element (Фильтрующий элемент)
- Testina (Фильтрующая головка) - Filter head (Фильтрующая головка)
- Contenitore (Корпус фильтра) - Filter bowl (Корпус фильтра)
- Pressostati (Датчики давления) - Pressure switches (Датчики давления)
- Manometro (Манометр) - Pressure Gauge (Манометр)
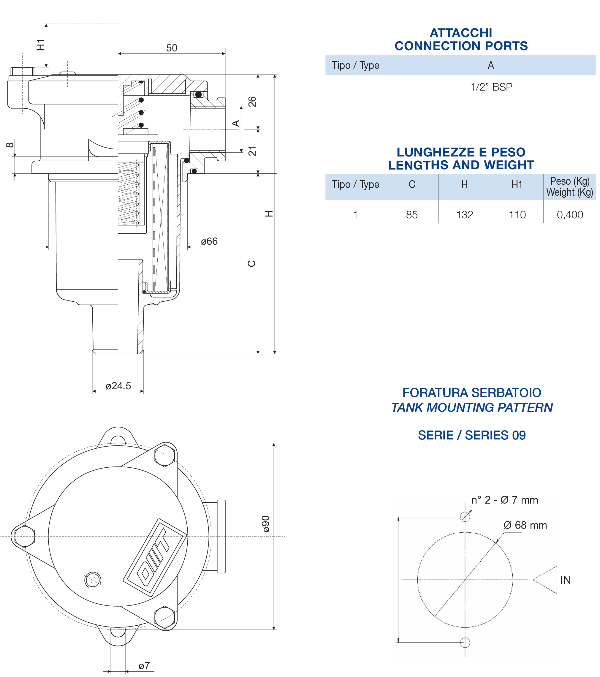
OMTF 09:

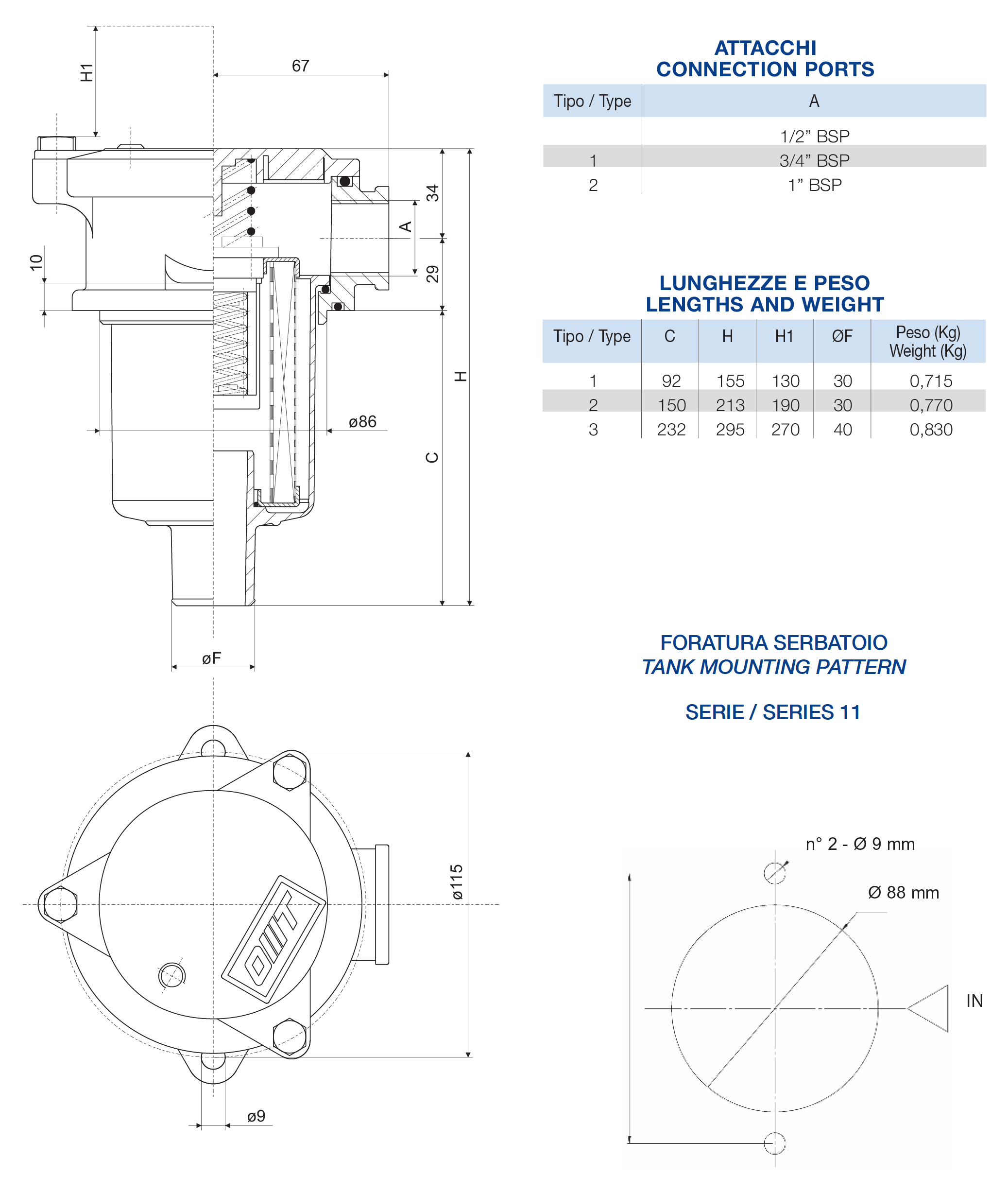
OMTF 11:

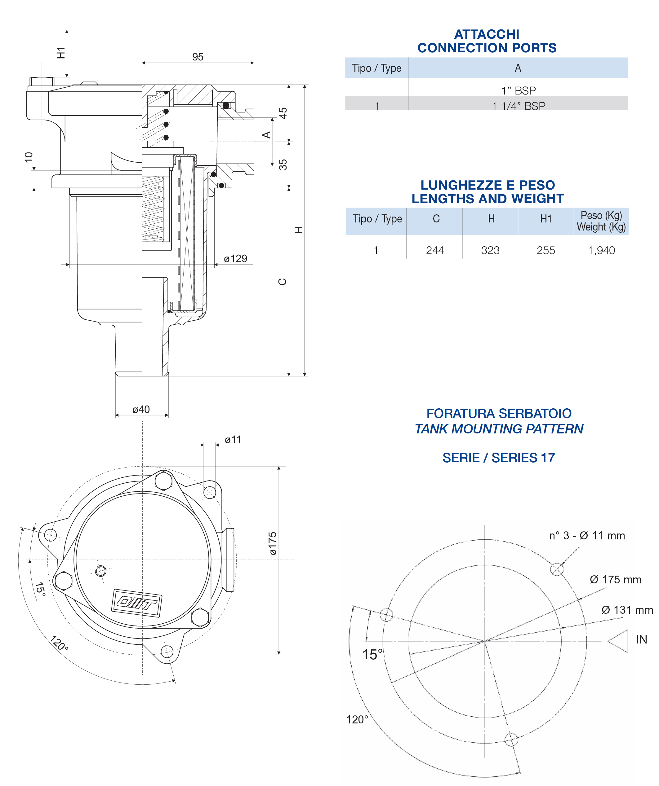
OMTF 17:

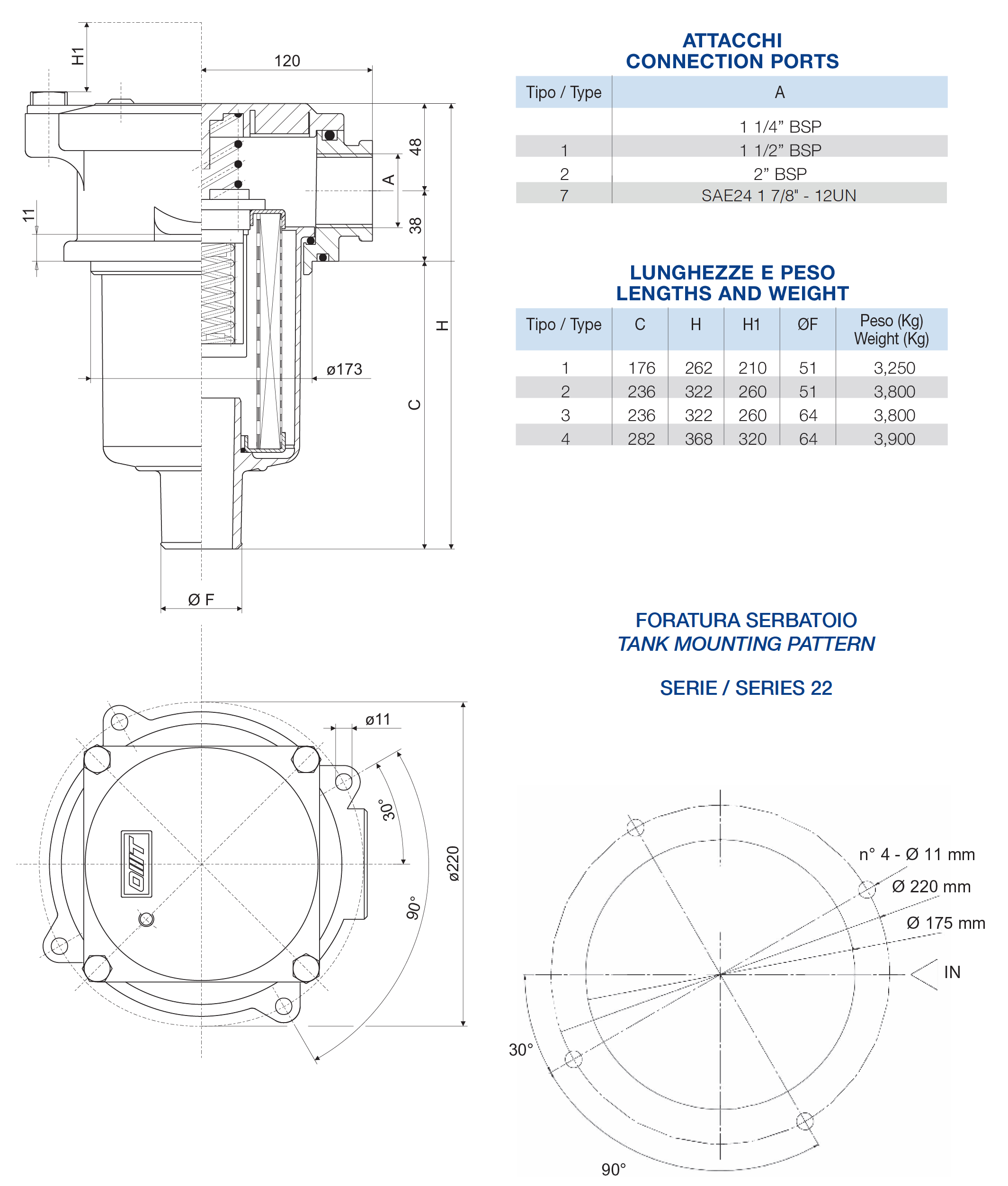
OMTF 22:

производитель
OMTF

