Дроссели с обратным клапаном модульного исполнения Ду10 350 бар, до 160 л/мин
350 бар, до 160 л/мин
Дроссели с обратным клапаном модульного исполнения предназначены для создания перепада давлений в подводимом и отводимом потоках рабочей жидкости или регулирования величины расхода при прохождении потока в одном направлении и для свободного пропускания потока при прохождении его в обратном направлении.Условное графическое изображение гидродросселя с обратным клапаном типа ДКМ 10/3:

Основные технические данные:
| Условный проход, мм | 10 |
| Давление на входе, МПа (кгс/см2): | |
| номинальное | 32 |
| максимальное | 35 |
| минимальное (при номинальном расходе) . . | 0,35 |
| Максимальное давление на выходе, МПа (кгс/см2) | 32 |
| Расход рабочей жидкости, л/мин: | |
| номинальный | 63 |
| максимальный | 160 |
| Давление открывания, Мпа | 0,05 |
| Внутренняя герметичность (максимальные внутренние утечки), см3/мин | 350 |
| Масса (с монтажной уплотнительной плитой), кг, для исполнений: | |
| ДКМ 10/ЗХ4 | 2,1 |
| ДКМ 10/ЗПХ4 | 2,1 |
| ДКМ 10/ЗА(В)Х4 | 1,2 |
| ДКМ 10/ЗА(В)ПХ4 | 1,1 |
Зависимость перепада давления от расхода
Структура условного обозначения:
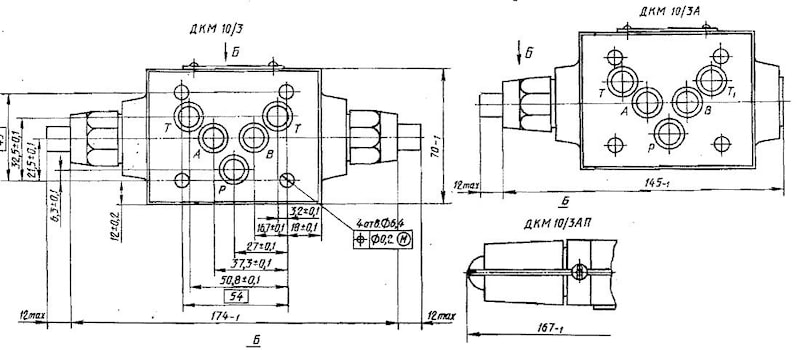
Размеры дросселя с обратным клапаном ДКМ10:


Устройство и принцип работы
Конструкция дросселя с обратным клапаном типа ДКМ 10/3 представлена на рисунке.
Гидродроссель состоит из корпуса 1, в расточке которого установлены втулка 3 и заглушка 4. С обеих сторон корпуса симметрично установлены колпачки 5, регулировочные винты 6, дроссели Д служащие одновременно обратными клапанами, пружины 12, резиновые кольца 5, 11, защитные кольца 9, 10.
Хвостовики дросселей 13 заведены в пружинные полости регулировочных винтов 6 и прижаты к буртикам винтов 6 пружинами 12.
В колпачках 5 в двух взаимно перпендикулярных положениях установлены винты 7, служащие для законтровки регулировочного винта 6 после произведенной регулировки.
Стыковые поверхности аппарата прикрываются пластмассовыми крышками (на рисунке не показаны), между одной из «их и корпусом находится монтажная плита 2 с резиновыми кольцами.
Каналы А и В снизу (по чертежу) через каналы а в корпусе, пазы в и отверстия с во втулке 3 сообщаются с пружинными полостями d регулировочных винтов 6. Сверху (по чертежу) каналы А и В через пазы 14 во втулке 3 сообщаются с рабочими полостями гидродросселя.
Исполнения ДКМ 10/ЗА и ДКМ 10/ЗВ отличаются тем, что со стороны каналов соответственно J и А в расточке корпуса взамен колпачка 5, регулировочного винта 6, дросселя 13 и пружины 12 установлены технологические втулка и пробка,
Пополнения ДКМ 10/ЗП, ДКМ 10/ЗАП, ДКМ 10/ЗВП отличаются тем, что колпачки и регулировочные винты прикрыты предохранительными колпачками, которые контрятся проволокой и опломбируются.
Гидродроссели работают следующим образом.
При подаче рабочей жидкости в канал А или В сверху (по чертежу) поток через паз 14 во втулке 3 попадает в рабочую полость гидродросселя и, преодолевая усилие пружины 12, отжимает дроссель 13, открывая канал для свободного прохода потока.
При подаче рабочей жидкости в канал А или В снизу (по чертежу) поток через канал а, лаз в и отверстие с попадает в пружинную полость d регулировочного винта 6 и, воздействуя на торец хвостовика дросселя, прижимает хвостовик к буртику регулировочного винта. При этом дроссель частично перекрывает рабочую полость, кромки дросселя и втулки 3 образуют дросселирующую щель, сечение которой определяется положением регулировочного винта 6 в колпачке 5. Регулирование сечения дросселирующей щели производится вращением регулировочного винта 6, для чего в его торце выполнено отверстие под ключ. Для фиксации положения регулировочного винта необходимо поджать один из винтов 7.
Одинарные дроссели работают аналогично.
Если вы хотите купить дроссели с обратным клапаном модульного исполнения Ду10 , вы можете:
Позвонить:

