Станция смазки типа СДР
Станция смазочная двухмагистральная предназначена для нагнетания вручную пластичного смазочного материала к двухлинейным питателям централизованной смазки.Технические характеристики:
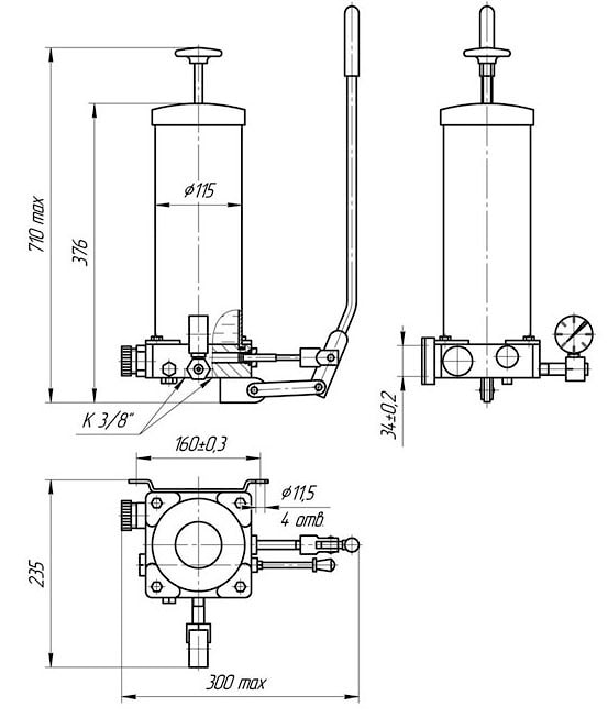
Тип насоса - одноплунжерный
Производительность см³/цикл - 7,2
Вместимость резервуара дм³ - 2,5
Номинальная подача дм³/мин, не менее - 5
Давление на выходе МПа, не менее - 10
Масса, кг - 8,6
Расмеры станции смазочной СДР

производитель
ГидроПневмоАппарат
Если вы хотите купить станция смазки типа СДР , вы можете:
Позвонить:
Ещё из раздела станции смазки
Смазочные станции типа С48-1М и МС48М предназначены для нагнетания отфильтрованных масел в смазочные системы станков и других машин. Станция МС48М является модифицированным вариантом станции С48-1М. Технические усовершенствования, являющиеся ...

