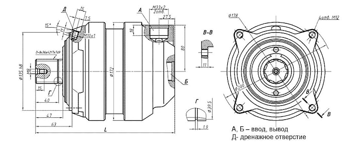
Гидромотор планетарно-роторный ГПРФ-M-160-630

Наименование | Значение параметров для исполнения GPR-F-M-… | ||||||
параметров | ...160 | ...200 | ...250 | ...320 | ...400 | ...500 | ...630 |
Номинальный рабочий объем, см3/об | 160±4,8 | 200±6 | 250±7,5 | 320±9 | 400±12 | 500±15 | 630±19 |
перепад давления , МПа | |||||||
номинальное | 16 | ||||||
максимальное | 20 | ||||||
Крутящий момент, Нм | |||||||
номинальный | 365 | 454 | 567 | 716 | 908 | 1114 | 1430 |
страгивания | 300 | 370 | 465 | 585 | 745 | 915 | 1174 |
Номинальный расход жидкости, л/мин | 96+9,6 | ||||||
Частота вращения, об/мин | 600±60 | 480±36 | 378±36 | 300±24 | 240±24 | 190±15 | 150±15 |
Допустимая нагрузка на хвостовик вала, Н не более: | 5200 | 4700 | 4200 | 3500 | 3100 | 2800 | 2500 |
1) радиальная в плоскости, отстоящей от торца вала на 20 мм. | |||||||
2) осевая | не допускается | ||||||
L, mm | 215 | 219 | 225 | 232 | 241 | 251 | 266 |
Масса, кг | 20 | 20,5 | 21 | 22 | 23 | 23,5 | 24 |

производитель
HIDROINPEX
Если вы хотите купить гидромотор планетарно-роторный ГПРФ-M-160-630 , вы можете:
Позвонить: