Фильтровально-заправочный передвижной агрегат тип ФЗПА 16-100 л/мин
Фильтровально-заправочные передвижные агрегаты серий ФЗПА, ФЗПАА и ФЗПАВ — это специализированные устройства для многоступенчатой очистки гидравлического масла. Они предназначены для заправки и одновременной фильтрации масла в гидравлические системы как промышленного оборудования, так и мобильных машин, таких как экскаваторы и краны.
Основные функции и применение
- Заправка и фильтрация масла: Агрегаты обеспечивают чистую заправку масла, что продлевает срок службы гидравлических систем.
- Периодическая фильтрация: Устройства могут использоваться для регулярной фильтрации уже имеющегося масла в системе, что помогает продлить срок службы оборудования и сохранить его эффективность.
- Фильтрация после ремонта: Фильтровально-заправочные агрегаты полезны после проведения ремонтных работ для удаления возможных загрязнений из системы.
Преимущества и особенности
- Многоступенчатая очистка: Обеспечивает высокую степень фильтрации, защищая оборудование от загрязнений.
- Простота использования: Агрегаты имеют удобную конструкцию и не требуют сложного технического обслуживания.
- Долговечность: Надежная структура и качественные материалы обеспечивают длительный срок службы.
- Низкий уровень шума: Устройства работают тихо, что делает их удобными для использования в различных условиях.
- Выбор фильтрующих элементов: Возможно использование фильтров с различной степенью фильтрации (от 3 мкм до 30 мкм), что позволяет адаптировать устройство под конкретные нужды.
- Экономичность: Недорогие фильтрующие элементы снижают общие расходы на техническое обслуживание.
Дополнительные возможности
Фильтровально-заправочные агрегаты могут использоваться в качестве перепускных фильтров вне гидравлической системы, что делает их универсальным инструментом для поддержания чистоты масла и продления срока службы оборудования.
Эти агрегаты являются незаменимыми помощниками в поддержании работоспособности гидравлических систем, обеспечивая высокое качество фильтрации и надежность работы.
Гидравлическая схема
1. фильтр тонкой очистки
2. выпускной клапан
3. Манометр
4. Предохранительный клапан
5. Насос
6. Мотор
7. Фильтр грубой очистки
8. Магнитный фильтр
9, Расходомер
Код для заказа:

Технические данные
| Модель | Расход | Тонкость очистки первого фильтра | Тонкость очистки второго фильтра | Перепад давления | мощность мотора | Напряжение | масса |
| л/мин | мкм | мкм | Мпа | кВт | В | кг | |
| ФЗПА-16 х * # | 16 | 100 | <0.02 | 0,37 | 60 | ||
| ФЗПА-40 х * # | 40 | 0,75 | 90 | ||||
| ФЗПА-63 x * # | 63 | 3 | 1,1 | 100 | |||
| ФЗПА-100 x * # | 100 | 5 | 1,5 | AC:380 | 110 | ||
| ФЗПА (А,В) g-16 x * # | 16 | 10 | 0,37 | ||||
| ФЗПА (А,В) g-40 x * # | 40 | 20 | 0,75 | ||||
| ФЗПА (А,В) g-63 x * # | 63 | 30 | 1,1 | ||||
| ФЗПА (А,В) g-100 x * # | 100 | 1,5 |
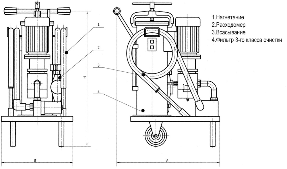
Габаритные размеры ФЗПА

| Размеры , мм | |||
| H | A | В | |
| ФЗПА-16 X* | 920 | 470 | 350 |
| ФЗПА-40 X* | 930 | 648 | 400 |
| ФЗПА-63 X* | 960 | 560 | 400 |
| ФЗПА-100 X * | 960 | 560 | 400 |
Габаритные размеры ФЗПАА

| Размеры , мм | |||
| H | A | В | |
| ФЗПАА-16 X* | 1060 | 650 | 450 |
| ФЗПАА-40 X* | 1080 | 700 | 500 |
| ФЗПАА-63 X* | 1120 | 740 | 500 |
| ФЗПАА-100 X * | 1120 | 740 | 500 |
Габаритные размеры ФЗПАВ

Использование и обслуживание
1. Избегайте возможного неправильного направления вращения насоса при запуске агрегата, это может привести к выдавливанию уплотнения вала и попаданию воздуха.
2. Для обеспечения номинального расхода и нормальной работы фильтрующего элемента тонкой очистки и предотвращения попадания воздуха в гидросистему следует стравить воздух чрез выпускной клапан до тех пор, пока на выходе из выпускного клапана не будет видно масло, затем закрыть выпускной клапан.
3. После определенного периода работы фильтроэлемент грубой очистки может постепенно загрязняться, что выразается в повышенном шуме насоса, в этом случае необходимо остановить работу и очистить либо заменить фильтродемент.
4. По мере засорения фильтра тонкой очистки повышается давление на манометре. Когда давление достигает 0,4 МПа, элементы должны быть своевременно заменены.
5. Трубки всасывания и выпуска масла должны всегда содержаться в чистоте.
6. Если агрегат не перекачивает масло, проверьте:
а. Направление вращения насоса;
б. Исправны ли уплотнения между баком и впускным отверстием для масла; впускное отверстие для масла находится над поверхностью масла или масло вытекает;
в. элементы фильтра грубой очистки залипли.
7. Если расход масла заметно уменьшился, проверьте:
а. Не забиты ли грязью элементы фильтров грубой и тонкой очистки.
б. Не произошло ли выдавливание уплотнения вала из-за износа или неправильного направления вращения.
8. Если происходит резкое падение давления, проверьте, не повреждены ли элементы фильтра тонкой очистки.

