Регулируемый радиально-поршневой насос 50НРР.. М
Радиально-поршневой насос регулируемого типа с электромагнитным механизмом изменения подачи обеспечивает работу на любой из четырех подач в диапазоне от номинальной до минимальной. Установка подачи обеспечивается включением электромагнита, последовательность включения каждой из четырех фиксированных подач произвольная.
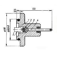
Устройство электрогидравлического механизма на четыре подачи:
- корпус,
- фланец;
- четыре поршня;
- четыре винта;
- толкатель (оновременно является указателем подачи насоса);
- два распределителя типа Р34Э1ВКС6/200-1;
- четыре гайки;
- заглушка;
- резиновые кольца;
- манжеты.
На корпусе в углах набиты номера электромагнитов, в центре — соответствующие номера регулировочных винтов.
Принцип работы электрогидравлического механизма изменения подачи
Нулевая подача: при обесточенных электромагнитных распределителях толкатель под действием пружины тяги распределительной втулки перемещается до упора в корпус, сдвигая поршни вглубь корпуса.
Подача: при включении одного из электромагнитов давление управления от шестеренного насоса через распределитель поступает в полость под один из поршней и перемещает поршень и толкатель с заглушкой до тех пор, пока поршень не упрется в головку винта, при этом тяга распределительной втулки перемещается внутрь насоса. Положение винтов фиксируется контргайками.
Подача насоса контролируется указателем. Нулевая подача насоса соответствует максимальному вылету указателя (20 мм). При максимальной подаче торец указателя совпадает с торцом корпуса механизма.
Установка нужной подачи
После включения электромагнита неободимо отвернуть гайку, соответствующую номеру электромагнита, и поворачивать винт. При вращении винта по часовой стрелке подача поршневого насоса увеличивается, и наоборот.
Изменение величины подачи находится приблизительно в линейной зависимости от хода указателя.
ЗАПРЕЩАЕТСЯ включать одновременно два электромагнита одного и того же распределителя.
Параметры регулирования:
- количество подач регулирования – 4;
- допустимое число переключений в минуту 40;
- время изменения подачи от минимальной до номинальной или обратно, не более 0,2с;
- мощность, потребляемая электромагнитом 26Вт.
Технические характеристики насосов 50НРР...М:
Базовое исполнение насосов - фланцевое. Насосы с рабочим объемом 250 и 500 см³ могут быть изготовлены с креплением на лапах, в этом случае в обозначении насоса стоит буква "К".
Устройство электрогидравлического механизма на четыре подачи:
- корпус,
- фланец;
- четыре поршня;
- четыре винта;
- толкатель (оновременно является указателем подачи насоса);
- два распределителя типа Р34Э1ВКС6/200-1;
- четыре гайки;
- заглушка;
- резиновые кольца;
- манжеты.
На корпусе в углах набиты номера электромагнитов, в центре — соответствующие номера регулировочных винтов.
Принцип работы электрогидравлического механизма изменения подачи
Нулевая подача: при обесточенных электромагнитных распределителях толкатель под действием пружины тяги распределительной втулки перемещается до упора в корпус, сдвигая поршни вглубь корпуса.
Подача: при включении одного из электромагнитов давление управления от шестеренного насоса через распределитель поступает в полость под один из поршней и перемещает поршень и толкатель с заглушкой до тех пор, пока поршень не упрется в головку винта, при этом тяга распределительной втулки перемещается внутрь насоса. Положение винтов фиксируется контргайками.
Подача насоса контролируется указателем. Нулевая подача насоса соответствует максимальному вылету указателя (20 мм). При максимальной подаче торец указателя совпадает с торцом корпуса механизма.
Установка нужной подачи
После включения электромагнита неободимо отвернуть гайку, соответствующую номеру электромагнита, и поворачивать винт. При вращении винта по часовой стрелке подача поршневого насоса увеличивается, и наоборот.
Изменение величины подачи находится приблизительно в линейной зависимости от хода указателя.
ЗАПРЕЩАЕТСЯ включать одновременно два электромагнита одного и того же распределителя.
Параметры регулирования:
- количество подач регулирования – 4;
- допустимое число переключений в минуту 40;
- время изменения подачи от минимальной до номинальной или обратно, не более 0,2с;
- мощность, потребляемая электромагнитом 26Вт.
Технические характеристики насосов 50НРР...М:
| Наименование насоса по ТУ | Подача (расход) | Давление | Частота вращения | Мощность | Длина | Ширина | Высота | Масса |
| л/мин | МПА | сˉ¹ | КВт | мм | мм | мм | кг | |
| 50НРР125М | 159 | 50 | 25 | 143 | 723 | 380 | 458 | 229 |
| 50НРР250МК | 211 | 50 | 16,6 | 190 | 853 | 445 | 530 | 379 |
| 50НРР500МК | 423 | 50 | 16,6 | 380 | 939 | 500 | 592 | 524 |
Базовое исполнение насосов - фланцевое. Насосы с рабочим объемом 250 и 500 см³ могут быть изготовлены с креплением на лапах, в этом случае в обозначении насоса стоит буква "К".
производитель
Гидропривод (г. Харьков)
Если вы хотите купить регулируемый радиально-поршневой насос 50НРР.. М , вы можете:
Позвонить:
Ещё из раздела насосы радиально-поршневые регулируемые 50НРР
Наименование параметра Значение параметра для типоразмеров 125 250 500 1. Номинальный рабочий объем насоса, см³: – радиально-поршневого 125 250 500 – шестеренного 28 28 28 2. Частота вращения, сˉ¹: – номинальная 25 16,6 16,6 – максимальная 25 25 ...

