Гидрораспределитель манипулятора пропорциональный восмисекционный с ручным и электроуправлением 8ZC70 80 л/мин, 250 бар
80 л/мин, 250 бар

Надежный секционный распределитель с полным набором антишоковых и антикавитационных клапанов.
- высокая пропускная способность нет нагрева масла, выше скорость, меньше потерь мощности
- полный набор антишоковых и антикавитационных клапанов уменьшает ударные нагрузки на конструкцию, увеличивает срок службы насоса_
- пропорциональные золотники с оптимальной зоной перекрытия специально разработаны для манипуляторов, обеспечивают плавную и точную работу.
-Рукоятки с кнопками итальянской компании Indemar имеют пыле - влагозащищенное исполнение
- высокая ремонтопригодность, т.к. некоторые операции более частые, происходит неравномерный износ золотников, можно поменять отдельную секцию, в отличии от моноблочного распределителя
- всегда в наличии все запчасти
Может применяться в манипуляторах МТПЛ-5-11, ГМ 50, Palms 665, Palms 2.54, 3.67-7.86; ГМ 42Т, ПЛ-9, МПТ 471; Primero 9000
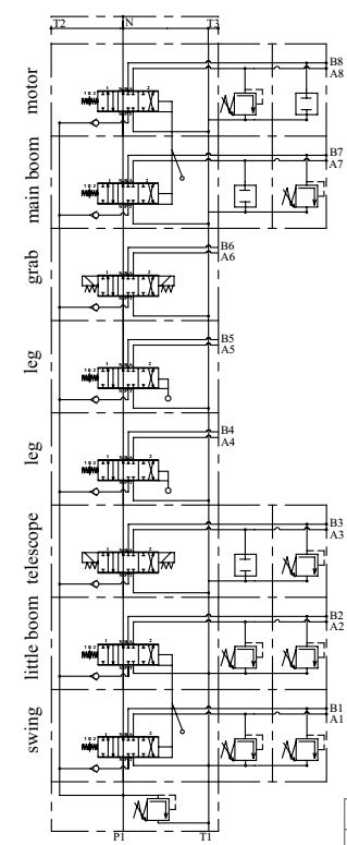
Гидравлическая схема:

Размеры:

Резьбы и катушки:


производитель
Badestnost
Если вы хотите купить гидрораспределитель манипулятора пропорциональный восмисекционный с ручным и электроуправлением 8ZC70 , вы можете:
Позвонить: