Гидронасос высокого давления двухступенчатый тип SPS - до 1600 бар
Гидронасос высокого давления двухступенчатый тип SPS предназначен для привода гидродомкратов и ручного инструмента где требуется давление до 1600 бар.Особенности насосов SPS
• Легкий вес и компактный дизайн
• Высокая эффективность за счет двух скоростей
• Встроенный предохранительный клапан.
Технические характеристики и размеры:
| Тип насоса | Рабочий объем масла | Индекс модели | Давление ном. | Объем подачи за 1 цикл | Усилие на рукоятке | Размеры | Выходной адаптер | Масса | ||||
| бар | (cm3) | (N) | (mm) | кг | ||||||||
| (cm3) | 1-я ступень | 2-я ступень | 1-я ступень | 2-я ступень | A | B | C | |||||
| Двухступенчатый | 655 | SPS7-0.7 | 25 | 700 | 15 | 2.6 | 300 | 520 | 133 | 119 | NPT3/8" | 5.3 |
| 1440 | SPS7-1 | 25 | 700 | 32 | 2.5 | 300 | 577 | 120 | 170 | NPT3/8" | 6.3 | |
| 2200 | SPSD7-2 | 25 | 700 | 16 | 2.5 | 300 | 539 | 146 | 170 | NPT3/8" | 8 | |
| 3240 | SPS7-3 | 25 | 700 | 32 | 2.5 | 300 | 582 | 200 | 170 | NPT3/8" | 10 | |
| 5860 | SPS7-4 | 25 | 700 | 32 | 2.5 | 300 | 667 | 250 | 172 | NPT3/8" | 14.5 | |
| 7500 | SPS7-8 | 14 | 700 | 126 | 4.8 | 300 | 742 | 308 | 270 | NPT3/8" | 27 | |
| 1440 | SPS16-1 | 15 | 1600 | 32 | 2.5 | 375 | 577 | 120 | 170 | G1/4" | 6.3 | |
| 3240 | SPS16-3 | 15 | 1600 | 32 | 2.5 | 375 | 577 | 140 | 190 | G1/4" | 10 | |

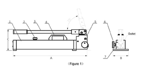
1.Резервуар
2.Заливная пробка-сапун
3.Рычаг
4.Рукоятка
5.Корпус насоса
6.Разгрузочный клапан
7.Лапы
Если вы хотите купить гидронасос высокого давления двухступенчатый тип SPS - до 1600 бар , вы можете:
Позвонить:

