Насос ручной заправочный типа НРЗ

Насос заправочный работает с пластичным смазочным материалом, число пенетрации которого не ниже 290.
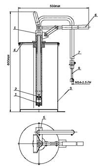
Конструктивыне элементы ручного заправочного насоса:
- клапаны всасывающий и нагнетательный;
- резервуар;
- крышка;
- фильтр;
- рычаг;
- гибкий рукав;
- переходной трубопровод.
При движении рычага вниз открывается всасывающий клапан и смазка поступает под седло нагнетательного клапана. При движении рычага подвижного вверх открывается нагнетательный клапан и смазка поступает в фильтр. После фильтрации смазка, через гибкий рукав и переходной трубопровод, поступает в резервуар смазочной станции.
Условное обозначение насоса: «Насос НРЗ-1 УХЛ4».
Технические характеристики насоса ручного заправочного типа НР3
Наименование параметров | Данные |
Номинальное давление смазочного материала, МПа | 1 |
Подаваемый объем, см³/цикл: | 30 |
Вместимость резервура, дм³ | 10 |
Усилие на рукоятке рычага подвижного не более, Н | 160 |
Длина гибкого рукава, не менее, м | 1,6 |
производитель
НЗСФО
Если вы хотите купить насос ручной заправочный типа НРЗ , вы можете:
Позвонить: