Нагнетатель густой смазки ручной НРГСТ-15 на тележке
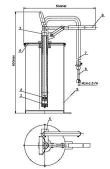
Нагнетатель густой смазки НРГСТ-15 представляет собой стальную емкость на тележке, с установленным на ней ручным насосом высокого давления. Для вытеснения воздуха из смазки в баке предусмотрен подпружиненный поршень.Применяется для смазки узлов и механизмов сельскохозяйственных и строительных машин в автомобильном транспорте.
Поставляется в комплекте с рукавом высокого давления с насадкой стальной заправочной.
Технические характеристики:
Вязкозть смазочного материала не ниже 220сСт
не выше 340сСт (NLGI1-3)
Производительность: 80 см. куб/ход
Давление нагнетания: 25 МПа
Длина подающего рукава: 4 м
Размеры 340x340x730 mm
Вес нетто 11,6 кг

Габаритные размеры

Если вы хотите купить нагнетатель густой смазки ручной НРГСТ-15 на тележке , вы можете:
Позвонить:

