Гидравлическая установка для питания узлов станков
Гидравлическая станция используется для подачи масла под давлением к исполнительным механизмам станков и промышленного оборудования. Она обеспечивает стабильную работу гидроприводов, поддерживает необходимое давление и расход, защищает систему от перегрузок.
В стандартной комплектации станция включает насосный агрегат с электродвигателем, гидробак с фильтрацией, предохранительную аппаратуру, систему охлаждения и приборы контроля.
По запросу клиента станция может быть изготовлена в индивидуальном исполнении — с подбором мощности, объёма бака, типа насоса и дополнительной аппаратуры под конкретные задачи.
Технические характеристики станции:
| Наименование параметров | Значение |
| Электродвигатель М | |
| Мощность, кВт | 2,2 |
| Напряжение, В | 380 |
| Частота вращения, об/мин | 1450 |
| Насос шестеренный Н | |
| Рабочий объём, см3 | 7,9 |
| Максимальное рабочее давление, бар | 60 |
| Подача, л/мин | 11,3 |
| Направление вращения | правое |
| Бак Б | |
| Объем, л | 30 |
| Размещение | горизонтально |
| Гидрораспределители Р1-Р4
| |
| Тип управления | электромагнитный |
| Температура окружающей среды, °С:
| |
| Минимальная | - 20 |
| Максимальная | +50 |
| Основные марки рабочей жидкости*:
| |
| Зимой | МГ-15В ТУ 38.101479-00 |
| Летом | МГЕ-46В ТУ 38.001347-83 |
| Фильтр заливной с сапуном ФВ | |
| Номинальная тонкость фильтрации, мкм | 40 |
| Фильтр сливной Ф | |
| Номинальная тонкость фильтрации, мкм | 25 |
| Класс чистоты рабочей жидкости по ГОСТ 17216-71, не ниже | 10 |
| Количество заливаемой раб. жидкости, л | 27 |
| Масса гидроустановки, не более, кг | 75 |
| Масса гидроустановки с раб. жидкостью, не более, кг | 100 |
| Габаритные размеры, не более, мм | |
| а (длина) | 720 |
| b (ширина) | 510 |
| c (высота) | 910 |

| 1. Пробка сливная ПС; | 2. Бак гидравлический Б; |
| 3. Маслоуказатель МУ; | 4. Резьбовая пробка с сапуном ФВ; |
| 5. Реле давления РД1; | 6. Клапан предохранительный КП; |
| 7. Манометр МН1 с краном Кр1 | 8. Электродвигатель М; |
| 9. Гидрораспределитель Р4; | 10. Клапан редукционный КР3; |
| 11. Реле давления РД4; | 12. Идентификационная наклейка; |
| 13. Рамная конструкция; | 14. Гидрораспределитель Р3; |
| 15. Реле давления РД3; | 16. Клапан редукционный КР2; |
| 17. Плита монтажная ПМ3; | 18. Гидрораспределитель Р1; |
| 19. Гидрораспределитель Р2; | 20. Реле давления РД2; |
| 21. Клапан редукционный КР1; | 22 Манометр МН2 с краном Кр2; |
| 23. Кронштейн крепления гидропневмоаккумулятора; | 24 Гидропневмоаккумулятор ПГА; |
| 25 Хомут крепления гидропневмоаккумулятора; | 26 Манометр МН3 с краном Кр3; |
| 27 Манометр МН4 с краном Кр4; | 28 Кран Кр5; |
| 29 Фильтр сливной Ф; | 30 Реле давления РД5; |
| 31 Теплообменник ТО. |
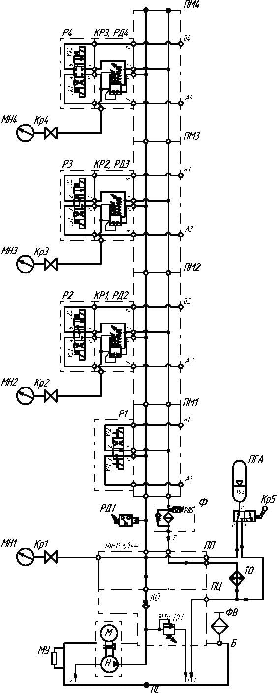
Гидравличсекая схема:

Шестеренный насос Н приводимый во вращение электродвигателем М, всасывает из бака Б гидравлическое масло и нагнетает его через обратный клапан КО под давлением в напорную линию.Далее масло попадает в плиту промежуточную ПП, плиты монтажные ПМ1-ПМ4, редукционные клапана КР1-КР3 и гидрораспределители Р1-Р4. От распределителей Р1-Р4 масло поступает к исполнительным механизмам. Распределители Р1-Р4 осуществляют управление потоком гидравлической жидкости. Редукционные клапана КР1–КР3 предназначены для снижения давления в соответствующей линии относительно общего давления в гидросистеме. Вместе с клапанами КР1-КР3 установлены реле давления РД2-РД4, которые предназначены для отключения привода гидроустановки при превышении установленного давления на редукционных клапанах КР1-КР3 согласно схемы гидравлической (см. рис. 1). В напорной линии гидросистемы установлено реле давления РД1 , которое также предназначено для отключения привода гидроустановки при превышении давления настройки. Реле давления РД5 предназначено для сигнализации рабочего персонала о загрязнении сливного фильтра Ф и необходимости замены фильтроэлемента.
Клапан предохранительный КП предназначен для ограничения давления в гидросистеме и защиты основных компонентов от разрушения. Для очистки рабочей жидкости от загрязнений в сливной линии установлен фильтр Ф. Для охлаждения рабочей жидкости в гидравлической установке предусмотрен теплообменник ТО, который установлен в сливной линии. В гидравлической системе предусмотрен пневмогидроаккумулятор ПГА, функция которого – уменьшение пульсаций и ударных нагрузок в системе. Включение и отключение ПГА производится краном Кр5. Для измерения давления в установки гидравлической присутствуют манометры МН1-МН4 (установлены с кранами Кр1-Кр4 соответственно). Для индикации уровня масла в гидравлическом баке предназначен маслоуказатель МУ. Заливается масло через фильтр заливной с сапуном ФВ. Сливается через пробку сливную ПС.

