Трехвинтовые насосы для масел малой и средней подачи типа PDA 10бар, 21-160 л/мин
10бар, 21-160 л/мин
Трехвинтовые насосы серии PDA для смазочных и гидравлических масел.Особенности:
- очень низкий уровень шума
- отсутствие пульсаций
- высокая способность самовсасывания
- стабильность работы даже со смесью масло-воздух
- высокая надежность
- не загрязняет перекачиваемую жидкость
Винтовые насосы серии PDA обычно применяются в системах охлаждения и системах фильтрации и смазки невысоким давлением.
Таблица производительности винтовых насосов серии PDA
| Установка | Внутренняя или внешняя |
| Среда | Промышленность |
| Температура среды Мин/Макс | -25°C (CS) и -40°C (LTCS) , только хранение / 60°C |
| РАБОЧИЕ УСЛОВИЯ | |
| Жидкости | Минеральные и синтетические смазочные масла, гидравлическое масло, жидкости для авиации. |
| Содержание твердых веществ | 0% * |
| Диапазон вязкости | от 10 до 1500 сСт * |
| Скорость | от 750 до 3600 об/мин * |
| Вращение (вид с вала) | По часовой стрелке |
| ТЕХНИЧЕСКИЕ ХАРАКТЕРИСТИКИ | |
| Доступные исполнения | API 676 II ED ГОРИЗОНТАЛЬНЫЙ |
| Производительность | от 21 до 160 л/мин |
| Давление на всасывании | от -0,4 до 2 бар (изб.) |
| Давление на нагнетании | МАКС 10 бар (изб.) |
| Рабочая температура | от 0 до 100 °C |
| Уплотнение | Нет |
| Подшипник | радиальный шариковый |
| Смазка подшипника | перекачиваемая жидкость |
| Привод | двигатель АС или DC |
| Конструктивная форма | вертикальный погружной |
| ВХ/ВЫХ | BSP UNI DIN EN1092-1 |
| МАТЕРИАЛЫ | |
| Корпус/Фланцы | Углеродистая сталь или нержавеющая сталь * |
| Корпус/Фланцы | Азотированная углеродистая сталь * |
| Алюминий | Углеродистая сталь |
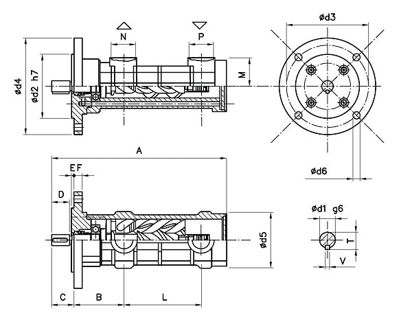
Размеры винтовых насосов серии PDA

| Размер | A | B | C | D | E | F | L | M | N | P | T | V | d1 | d2 | d3 | d4 | d5 | d6 |
| PDA029#2..01. | 286 | 82 | 42 | 37 | 5 | 14 | 122 | 44 | 1" | 1" | 21,5 | 6 | 19 | 100 | 125 | 150 | 95 | 11 |
| PDA032#2..01. | ||||||||||||||||||
| PDA040#2..01. | 307 | 82 | 42 | 37 | 5 | 14 | 140 | 48 | 11/4" | 1 1/4" | 1 1/4" | 6 | 19 | 100 | 125 | 150 | 95 | 11 |
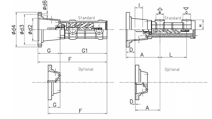
Размеры насосных агрегатов PDA без двигателя

| Модель | A | B | C | D | F | G | G1 | H | I | L | d2 | d3 | d4 d6 | |
| PDA029#2..01 STD. | 191 | 1" | 1" | 67 | 353 | 127 | 226 | 44 | 35 | 122 | 130 | 165 | 200 | M10 |
| PDA032#2..01 STD. | 191 | 1" | 1" | 67 | 353 | 127 | 226 | 44 | 35 | 122 | 130 | 165 | 200 | M10 |
| PDA040#2..01 STD. | 191 | 1 1/4" | 1 1/4" | 67 | 374 | 127 | 247 | 48 | 35 | 140 | 130 | 165 | 200 | M10 |
| PDA029#2.01 OPT. | 122 | 1" | 1" | 2 | 284 | 58 | 226 | 44 | 35 | 122 | 130 | 165 | 200 | M10 |
| PDA032#2.01 OPT. | 122 | 1" | 1" | 2 | 284 | 58 | 226 | 44 | 35 | 122 | 130 | 165 | 200 | M10 |
| PDA040#2..01 OPT. | 122 | 1 1/4" | 1 1/4" | 2 | 305 | 58 | 247 | 43 | 35 | 140 | 130 | 165 | 200 | M10 |
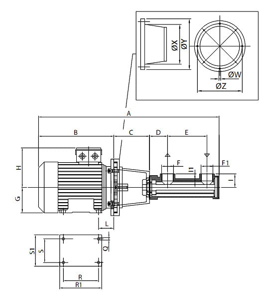
Размеры насосных агрегатов PDA с двигателем

| Мотор | A | B | C | D | E | F | F1 | G | H | I | I1 | L | Q | R | R1 | S | S1 | W | X | Y | Z | |
| PDA 029 | 71A-71B | 562 | 220 | 98 | 82 | 122 | 1" | 1" | 71 | 120 | 44 | 44 | 45 | 7 | 90 | 109 | 11 2 | 150 | 9 | 11 0 | 160 | 130 |
| 80A-80B | 608 | 255 | 127 | 64 | 122 | 1" | 1" | 80 | 145 | 44 | 44 | 50 | 10 | 100 | 126 | 125 | 165 | 11 | 145 | 200 | 165 | |
| 90S | 618 | 265 | 127 | 64 | 122 | 1" | 1" | 90 | 155 | 44 | 44 | 56 | 10 | 100 | 130 | 140 | 180 | 11 | 145 | 200 | 165 | |
| 90L | 643 | 290 | 127 | 64 | 122 | 1" | 1" | 90 | 155 | 44 | 44 | 56 | 10 | 125 | 155 | 140 | 180 | 11 | 145 | 200 | 165 | |
| 100L | 705 | 325 | 136 | 82 | 122 | 1" | 1" | 100 | 180 | 44 | 44 | 63 | 12 | 140 | 172 | 160 | 205 | 14 | 190 | 250 | 215 | |
| 112M | 720 | 340 | 136 | 82 | 122 | 1" | 1" | 11 2 | 190 | 44 | 44 | 70 | 12 | 140 | 176 | 190 | 230 | 14 | 190 | 250 | 215 | |
| PDA 032 | 80A-80B | 608 | 255 | 127 | 64 | 122 | 1" | 1" | 80 | 145 | 44 | 44 | 50 | 10 | 100 | 126 | 125 | 165 | 11 | 145 | 200 | 165 |
| 90S | 618 | 265 | 127 | 64 | 122 | 1" | 1" | 90 | 155 | 44 | 44 | 56 | 10 | 100 | 130 | 140 | 180 | 11 | 145 | 200 | 165 | |
| 90L | 643 | 290 | 127 | 64 | 122 | 1" | 1" | 90 | 155 | 44 | 44 | 56 | 10 | 125 | 155 | 140 | 180 | 11 | 145 | 200 | 165 | |
| 100L | 705 | 325 | 136 | 82 | 122 | 1" | 1" | 100 | 180 | 44 | 44 | 63 | 12 | 140 | 172 | 160 | 205 | 14 | 190 | 250 | 215 | |
| 112M | 720 | 340 | 136 | 82 | 122 | 1" | 1" | 11 2 | 190 | 44 | 44 | 70 | 12 | 140 | 176 | 190 | 230 | 14 | 190 | 250 | 215 | |
| 132SA-132SB | 789 | 390 | 155 | 82 | 122 | 1" | 1" | 132 | 210 | 44 | 44 | 89 | 12 | 140 | 176 | 216 | 270 | 14 | 234 | 300 | 265 | |
| PDA 040 | 80A-80B | 629 | 255 | 127 | 64 | 140 | 1 1/4" | 1 1/4" | 80 | 145 | 48 | 48 | 50 | 10 | 100 | 126 | 125 | 165 | 11 | 145 | 200 | 165 |
| 90S | 639 | 265 | 127 | 64 | 140 | 1 1/4" | 1 1/4" | 90 | 155 | 48 | 48 | 56 | 10 | 100 | 130 | 140 | 180 | 11 | 145 | 200 | 165 | |
| 90L | 664 | 290 | 127 | 64 | 140 | 1 1/4" | 1 1/4" | 90 | 155 | 48 | 48 | 56 | 10 | 125 | 155 | 140 | 180 | 11 | 145 | 200 | 165 | |
| 100L | 726 | 325 | 136 | 82 | 140 | 1 1/4" | 1 1/4" | 100 | 180 | 48 | 48 | 63 | 12 | 140 | 172 | 160 | 205 | 14 | 190 | 250 | 215 | |
| 112M | 741 | 340 | 136 | 82 | 140 | 1 1/4" | 1 1/4" | 11 2 | 190 | 48 | 48 | 70 | 12 | 140 | 176 | 190 | 230 | 14 | 190 | 250 | 215 | |
| 132SA-132SB | 810 | 390 | 155 | 82 | 140 | 1 1/4" | 1 1/4" | 132 | 210 | 48 | 48 | 89 | 12 | 140 | 176 | 216 | 270 | 14 | 234 | 300 | 265 |
Скачать каталог винтовых насосов PDA
производитель
SEIM
Если вы хотите купить трехвинтовые насосы для масел малой и средней подачи типа PDA , вы можете:
Позвонить:

