Клапаны гидроуправляемые встраиваемые тип МКГВ 320 бар, до 650 л/мин
320 бар, до 650 л/мин
Клапаны гидроуправляемые встраиваемые МКГВ (клапаны 2/2)свободно пропускают поток в одном положении запорного
элемента и и герметично запирают в другом положении.
Запорный элемент управляется электрическим либо гидравлическим сигналом.
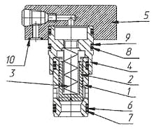
Устройство:

Гидроклапаны состоят из комплекта затвора и фланца. В комплект затвора входят: гильза 1, клапан 2, пружина 3 и переходная втулка 4. Комплект затвора вставляется в монтажное отверстие идроблока и прижимается фланцем 5. Для уплотнения клапанов в монтажных отверстиях гидроблоков в гильзе имеются резиновые 6, 8 и защитные из термоэластопласта 7, 9 кольца. Для уплотнения каналов управления на торцовой поверхности фланца 5 имеются разиновые кольца 10.
Структура условного обозначения
Технические характеристики
| Параметр | Условный проход, мм | ||
| 16 | 25 | 32 | |
| Давление на входе, МПа: | |||
| номинальное | 32 | ||
| максимальное для исполнений с дистанционным гидравлическим управлением | 42 | ||
| максимальное для исполнений с электрогидравлическим управлением | 35 | ||
| минимальное | См. графики на рис. 247, 248, 249, 251, 250, 252 | ||
| Максимально допустимое давление на выходе (в линии отвода основного потока рабочей жидкости), МПа: | |||
| для исполнений с дистанционным гидравлическим управлением | 42 | ||
| для исполнений с электрогидравлическим управлением | 32 | ||
| Давление открывания, МПа | 0,05 | 0,15 | 0,3 |
| Давление управления, МПа: максимальное: | |||
| для исполнений е дистанционным гидравлическим управлением | 42 | ||
| для исполнений с электрогидравлическим управлением | 32 | ||
| минимальное для исполнений с гидрозамком в линии управления | Определяется по формуле: Pmin =Pв/1,5 где Pв - давление в гидролинии В | ||
| минимальное для исполнений с гидрозамком в основной линии | Определяется по формуле: Pmin =Pа/10,5 где Pа - давление в гидролинии А | ||
| минимальное для остальных исполнений | Определяется по формуле: Pmin=(Pa-Pв)*i+Pв где I - соотношение подклапанной и надклапанной полостей: i1=0,952 i2=0,625 | ||
| Параметр | 16 | 25 | 32 | Параметр | 16 | 25 | 32 | |
| Расход рабочей жидкости: номинальный: | Масса, кг, для исполнений: | |||||||
| для всех исполнений, кроме ниже перечисленных | 100 | 160 | 320 | МКГВ-.../3Ф... | 1,05 | 1,7 | 2,7 | |
| для исполнений с гидрозамком в основной линии | 40 | 80 | 100 | МКГВ-.../3Ф...ОВ... | 1,2 | 2,0 | 3,4 | |
| для исполнений с дросселирующей цапфой | 80 | 125 | 320 | МКГВ-.../3Ф...ОР... | 1.5 | 2,3 | 3,7 | |
| для исполнений с ограничением хода | 63 | 100 | 250 | МКГВ-.../3Ф...ОП... | 1,35 | 2,15 | 3,55 | |
| максимальный: | МКГВ-.../3Ф...ОК... | 1,55 | 2,35 | 3,75 | ||||
| для всех исполнений, кроме ниже перечисленных | 200 | 450' | 750 | МКГВ-.../3Ф...Э... | 2,7 | 3,1 | 4,1 | |
| для исполнений с гидрозамком в основной линии | 100 | 250 | 400 | МКГВ-.../3Ф...ЭД.. | 3,3 | 3,6 | 4,9 | |
| для исполнений с дросселирующей цапфой | 160 | 380 | 650 | МКГВ-.../3Ф...И... | 1,2 | 2,5 | 3,9 | |
| для исполнений с ограничением хода | 140 | 320 | 560 | МКГВ-.../3Ф..ЭИ... | 3,6 | 4,2 | 5,8 | |
| Объем камеры управления (для исполнений с гидрозамком в основной линии), см3 | 2 | 5 | 8 | МКГВ-.../3Ф...ЭИО... | 3,6 | 4,3 | 5,4 | |
| Соотношение площадей управляющего поршня и вспомогательного клапана: | МКГВ-.../3Ф...ГЗ... | 3,9 | 3,0 | 5,0 | ||||
| для исполнений с гидрозамком в линии управления | 2,5:1 | 2,5:1 | 2,5*1 | МКГВ.../3Ф...ЭГЗ... | 4,1 | 4,5 | 6,0 | |
| для исполнений с гидрозамком в основной линии | 16:1 | 16:1 | 16:1 | МКГВ-.../3Ф...Г30... | 1,8 | 3,5 | 6,5 | |
| Внутренняя герметичность (максимальные внутренние утечки), см3/мин, не более: | 0,5 | МКГВ-.../3Ф..Д... | 1,5 | 2,4 | 4,0 | |||
| в сопряжении «клапан-седло» по основному запорному элементу (кроме исполнений МКГВ-.../3ФА) | 0,5 | МКГВ-.../3ФА1Э... | 2,7 | 3,1 | 4,1 | |||
| по направляющей части основного запорного элемента | 20 | 40 | 100 | |||||
| по поршню в линии управления для исполнений с гидрозамком в основной линии | 40 | 70 | 80 | |||||
| суммарные по сопряжению «клапан—седло» и направляющей части в основном запорном элементе для исполнений МКГВ-.../3ФА | 40 | 60 | 120 | |||||
| в сопряжении «клапан—седло» в линиях управления в гид-роуправляемых клапанах с элементом ИЛИ, с обратным клапаном | 0,2 | |||||||
| Номинальный перепад давления (при номинальном расходе), МПа: | ||||||||
| для исполнений с гидрозамком в основной линии | 0,25 | 0,22 | 0,25 | |||||
| для остальных исполнений | 0,18 | 0,07 | 0,12 | |||||
Зависимость перепада давления (потеря давления) от расхода
| ||||||||
| Время срабатывания при номинальных значениях давления и расхода, с: | ||||||||
| максимальное для исполнений: | ||||||||
| МКГВ-.../3Ф1Э...1... | 0,2 | 0,2 | 0,36 | |||||
| МКГВ-.../3Ф1Э...2... | 0,15 | 0,18 | 0,3 | |||||
| МКГВ-.../3Ф1Э...З... | 0,1 | 0,16 | 0,2 | |||||
| МКГВ-.../3Ф1ЭИ...1... | 0,2 | 0,2 | 0,36 | |||||
| МКГВ-.../3Ф1ЭИ...2... | 0,15 | 0,18 | 0,3 | |||||
| МКГВ-.../3Ф1ЭИ...Э... | 0,1 | 0,16 | 0,2 | |||||
| МКГВ-.../3Ф1ЭИ0...1... | 0,2 | 0,2 | 0,36 | |||||
| МКГВ-.../3Ф1ЭИ0...2... | 0,2 | 0,18 | 0,3 | |||||
| МКГВ-.../3Ф1ЭИО...З... | 0,15 | 0,16 | 0,2 | |||||
| МКГВ-.../3Ф1ЭД...1... | 0,2 | 0,2 | 0,36 | |||||
| МКГВ-.../3Ф1ЭД...2... | 0,2 | 0,18 | 0,3 | |||||
| МКГВ-.../3Ф1ЭД...З... | 0,15 | 0,16 | 0,2 | |||||
| МКХВ-.../3Ф2Э..1... | 0,2 | 0,2 | 0,36 | |||||
| МКГВ-.../3Ф2Э...2... | 0,15 | 0,18 | 0,3 | |||||
| МКГВ-.../3Ф2Э...З... | 0,1 | 0,16 | 0,2 | |||||
| МКГВ-.../3ФЦ2Э..1... | 0,18 | 0,19 | 0,27 | |||||
| МКГВ-.../3ФЦ2Э...2... | 0,13 | 0,16 | 0,25 | |||||
| МКГВ-.../3ФЦ2Э...З... | 0,08 | 0,11 | 0,2 | |||||
| МКГВ-.../3ФЦ2ЭИ...1... | 0,18 | 0,19 | 0,2 | |||||
| МКГВ-.../3ФЦ2ЭИ...2... | 0,13 | 0,16 | 0,25 | |||||
| МКГВ-.../3ФЦ2ЭИ...З... | 0,08 | 0,11 | 0,2 | |||||
| МКГВ-.../3ФЦ2ЭИО..1... | 0,18 | 0,19 | 0,27 | |||||
| МКГВ-.../3ФЦ2ЭИ0...2... | 0,13 | 0,16 | 0,25 | |||||
| МКГВ-.../3ФЦ2ЭИО...З... | 0,08 | 0,11 | 0,2 | |||||
| МКГВ-.../3ФЦ2ЭД..1.. | 0,18 | 0,19 | 0,27 | |||||
| МКГВ-.../3ФЦ2ЭД...2... | 0,13 | 0,16 | 0,25 | |||||
| МКГВ-.,./3ФЦ2ЭД...З.. | 0,08 | 0,11 | 0,2 | |||||
| МКХВ-.../3Ф2ЭГЗ..1... | 0,2 | 0,2 | 0,4 | |||||
| МКГВ-.../3Ф2ЭГ3...2... | 0,18 | 0,18 | 0,36 | |||||
| МКГВ-.../3Ф2ЭГЗ...З... | 0,15 | 0,16 | 0,21 | |||||
| МКГВ-.../3ФЦ2ЭГЗ..1... | 0,18 | 0,15 | 0,3 | |||||
| МКГВ-.../3ФЦ2ЭГ3...2... | 0,16 | 0,14 | 0,25 | |||||
| МКГВ-.../3ФЦ2ЭГЗ...З... | 0,14 | 0,2 | 0,2 | |||||
| минимальное | 0,05 | 0,05 | 0,05 | |||||
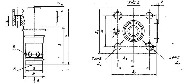
Габаритные и присоединительные размеры гидроклапанов типов МКГВ-.../3Ф1,..,
МКГВ-.../3ФА1.... МКГВ-.../3Ф2,.., МКГВ-.../3ФА2..., МКГВ-.../3ФБ2..., МКГВ-.../3ФЦ2...

| Типоразмер | Н, не более | h, не более | D | d | D1 | D2 | A1 | B1 | m±0,1 | l, не более |
| МКГВ-16/3Ф1... | ||||||||||
| МКГВ-16/3ФА1... | ||||||||||
| МКГВ-16/ЭФ2... | 81 | 56 | 32 | 25 | 9 | М12 | 25 | 65 | 46 | 14 |
| МКГВ16/3ФА2… | ||||||||||
| МКГВ-16/3ФБ2... | ||||||||||
| МКГВ-16/3ФЦ2... | ||||||||||
| МКГВ-25/3Ф1... | ||||||||||
| МКГВ-25/3ФА1... | ||||||||||
| МКГВ-25/3Ф2… | 97 | 72 | 45 | 34 | 14 | М16 | 33 | 85 | 58 | 9 |
| МКГВ-25/3ФА2… | ||||||||||
| МКГВ-26/3ФБ2... | ||||||||||
| МКГВ-25/3ФЦ2... | ||||||||||
| МКГВ-32/3Ф1... | ||||||||||
| МКГВ-32/3ФА1... | ||||||||||
| МКГВ-32/3Ф2... | 112 | 85 | 60 | 45 | 17 | М20 | 41 | 102 | 70 | 7 |
| МКГВ-32/3ФА2… | ||||||||||
| МКГВ-32/3ФБ2... | ||||||||||
| МКГВ-32/3ФЦ2... |
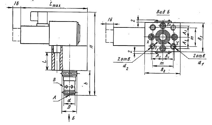
Габаритные и присоединительные размеры гидроклапанов типа МКГВ-.../3Ф...Э...

| Типоразмер | Н, не более | h, не более | L | D | d | d1 | d3 | A1 | B1 | B2 | m±0,1 | l, не более |
| МКГВ-16/3Ф1Э... | 161 | 56 | 147 | 32 | 25 | 9 | М12 | 25 | 65 | 80 | 46 | 19 |
| МКГВ-16/3Ф2Э... | ||||||||||||
| МКГВ-16/3ФЦ2Э... | ||||||||||||
| МКТВ-26/ЭФ1Э... | 174 | 72 | 139 | 45 | 34 | 14 | M16 | 33 | 85 | 85 | 58 | 10 |
| МКГВ-26/3Ф2Э... | ||||||||||||
| МКГВ-25/3ФЦ2Э... | ||||||||||||
| МКГВ-32/3Ф1Э... | 188 | 85 | 144 | 60 | 45 | 17 | М20 | 41 | 102 | 102 | 70 | 7 |
| МКГВ-32/3Ф2Э... | ||||||||||||
| МКГВ-32/3ФЦ2Э... | ||||||||||||
| МКГВ-16/3ФА1Э... | 161 | 56 | 147 | 32 | 25 | 9 | М12 | 25 | 65 | 80 | 46 | 19 |
| МКГВ-26/3ФА1Э... | 174 | 72 | 139 | 45 | 34 | 14 | М16 | 33 | 85 | 85 | 58 | 10 |
| МКГВ-28/3ФА1Э... | 188 | 85 | 144 | 60 | 45 | 17 | М20 | 41 | 102 | 102 | 70 | 7 |
Габаритные и присоединительные размеры гидроклапанов типов МКГВ-../ЗФ...ЭИ, МКГВ-.../ЗФ...ЭИО

| Типоразмер | H, не более | h, не более | D | d | d1 | d2 | L, не более | A1 | B1 | B2 | m | l |
| МКГВ-163Ф1ЭИ... | ||||||||||||
| МКГВ-163Ф2ЭИ... | 181 | 56 | 32 | 25 | 9 | М12 | 147 | 25 | 65 | 80 | 46 | 39 |
| МКГВ-163ФЦ2ЭИ... | ||||||||||||
| МКГВ-163Ф1ЭИО... | ||||||||||||
| МКГВ-163Ф2ЭИО... | 181 | 56 | 32 | 25 | 9 | М12 | 147 | 25 | 65 | 80 | 46 | 39 |
| МКГВ-16/ЭФЦ2ЭИО... | ||||||||||||
| МКГВ-253Ф1ЭИ... | ||||||||||||
| МКГВ-253Ф2ЭИ... | 196 | 72 | 45 | 34 | 14 | M16 | 139 | 33 | 85 | 85 | 58 | 33 |
| МКГВ-253ФЦ2ЭИ... | ||||||||||||
| МКГВ-263Ф1ЭИО... | ||||||||||||
| МКГВ-253Ф2ЭИО... | 197 | 72 | 45 | 34 | 14 | М16 | 139 | 33 | 85 | 85 | 58 | 34 |
| МКГВ-253ФЦ2ЭИО... | ||||||||||||
| МКГВ-3213Ф1ЭИ... | ||||||||||||
| МКТВ-323Ф2ЭИ... | 209 | 85 | 60 | 45 | 17 | М20 | 146 | 41 | 102 | 102 | 70 | 29 |
| МКГВ-323ФЦ2ЭИ... | . | |||||||||||
| МКГВ-3213Ф1ЭИО... | ||||||||||||
| МКГВ-323Ф23ИО... | 200 | 85 | 60 | 45 | 17 | М20 | 144 | 41 | 102 | 102 | 70 | 20 |
| МКГВ-323ФЦ2ЭИО... |
Габаритные и присоединительные размеры гидроклапанов типов МКГВ-.../ЗФ1И, МКГВ-.../ЗФ2И, МКГВ-.../ЗФЦ2И

| Типоразмер | H, не более | h, не более | D | d | d1 | d2 | A1 | B1 | m | l |
| МКГВ-16/ЗФ1И... | ||||||||||
| МКХВ-16/ЗФ2И... | 94 | 56 | 32 | 25 | 9 | М12 | 25 | 65 | 46 | 27 |
| МКГВ-16/ЗФЦ2И... | ||||||||||
| МКГВ-2е/ЗФ1И... | „ | |||||||||
| МКГВ-25/ЭФ2И... | ПО | 72 | 45 | 34 | 14 | М16 | 33 | 85 | 58 | 22 |
| МКГВ-25/ЗФЦ2И... | ||||||||||
| МКГВ-32/ЗФ1И... | ||||||||||
| МКГВ-32/ЗФ2И... | 123 | 85 | 60 | 45 | 17 | М20 | 41 | 102 | 70 | 18 |
| МКГВ-32/ЗФЦ2И... |
Габаритные и присоединительные размеры гидроклапанов типов МКГВ-.../ЗФ2ГЗ, МКГВ-.../ЗФЦ2ГЗ

| Типоразмер | H, не более | h, не более | D | d | d1 | d2 | A1 | B1 | m | l |
| МКГВ-16/ЗФ2ГЗ... МКГВ-1673ФЦ2ГЗ... | 103 | Б6 | 32 | 25 | 9 | М12 | 25 | 65 | 46 | 36 |
| МКГВ-2Б/ЗФ2ГЗ... МКГВ-25/ЗФЦ2ГЗ... | 119 | 72 | 45 | 34 | 14 | М16 | 33 | 85 | 58 | 31 |
| МКГВ-32/ЗФ2ГЗ... MKГB-32/ЗФЦ2ГЗ... | 131 | 85 | 60 | 45 | 17 | М20 | 41 | 102 | 70 | 27 |
Габаритные и присоединительные размеры гидроклапанов типов МКГВ-.../ЗФ...ЭГЗ..., МКГВ-.../ЗФ...ЭД

| Типоразмер | H, не более | h, не более | D | d | d1 | d2 | L | A1 | B1 | B2 | m | l |
| МКГВ-16/ЗФ2ЭГЗ... МКГВ-16/ЗФЦ2ЭГЗ... | 187 | 56 | 32 | 25 | 9 | М12 | 139 | 25 | 65 . | 80 | 46 | 45 |
| МКГВ-25/ЗФ2ЭГЗ... МКГВ-26/ЗФЦ2ЭГЗ... | 203 | 72 | 45 | 34 | 14 | М16 ~ | 139 | 33 | 85 | 85 | 58 | 39,5 |
| МКГВ-32/ЗФ2ЭГЗ... МКГВ-32/ЗФЦ2ЭГЗ... | 216 | 85 | 60 | 45 | 17 | М20 | 146 | 41 | 102 | 102 | 70 | 35,5 |
| МКГВ-16/ЗФ1ЭД... МКГВ-16/ЗФ2ЭД... МКГВ-16/ЗФЦ2ЭД... | 165 | 56 | 32 | 25 | 9 | М12 | 147 | 25 | 65 | 80 | 46 | 23 |
| МКГВ-25/ЗФ1ЭД... МКГВ-26/ЗФ2ЭД... МКГВ-2Б/ЗФЦ2ЭД... | 184 | 72 | 45 | 34 | 14 | М16 | 139 | 33 | 85 | 85 | 58 | 21 |
| МКГВ-32/3Ф1ЭД... МКГВ-83/ВФ2ЭД... | 195 | 85 | 45 | | 45 | 17 | М20 | 144 | 41 | 102 | 102 | 70 | 15 |
244. Габаритные и присоединительные размеры гадроклапанов типов МКГВ-.../ЗФ2Г30...

| Типоразмер | H, не более | h, не более | D | d | d1 | d2 | A1 | B1 | m | l |
| МКГВ-16/ЗФ2Г30... | 102 | 86 | 32 | 25 | 9 | М12 | 25 | 65 | 46 | 35 |
| МКГВ-25/ЗФ2Г30... | 130 | 72 | 45 | 34 | 14 | М16 | 35 | 85 | 58 | 39 |
| МКГВ-32/ЗФ2Г30... | 160 | 85 | 60 | 45 | 17 | М20 | 41 | 102 | 70 | 53 |
245. Габаритные и присоединительные размеры гадроклапанов типа МКГВ-.../ЗФ20...

| Типоразмер | D | d | d1 | H, не более | h, не более | A1 | B1 | m | l |
| МКГВ-16/ЗФ20В МКГВ-16/ЗФ20Р МКГВ-16ДФ20П МКГВ-16ДФ20К | 32 | 25 | 9 | 123 137 143 173 | 56 | 25 | 65 | 46 | 16 |
| МКГВ-26/ЗФ20В МКГВ-25/ЗФ20Р МКГВ-25/ЗФ20П МКГВ-25/ЗФ20К | 45 | 34 | 14 | 159 175 184 209 | 72 | 33 | " 85 | 58 | 11 |
| МКГВ-32/ЗФ20В МКГВ-32/ЗФ20Р МКГВ-32/ЗФ20П МКГВ-32/ЗФ20K | 60 | 45 | 17 | 181 197 206 231 | 85 | 41 | 102 | 70 | 8 |
Габаритные и присоединительные размеры гидроклапанов типов МКГВ-.../ЗФ1К..., МКГВ-.../ЗФА1К..., МКГВ-.../ЗФ2К..., МКГВ-.../ЗФБ2К..

| Типоразмер | H, не более | h, не более | D | d | d1 | d2 | A1 | B1 | m | l |
| МКГВ-16/ЗФ1К... МКГВ-16/ЗФА1К... МКГВ-16/ЗФА2К... МКГВ-16/ЗФ2... МКГВ-16/ЗФБ2К... | 93 | 56 | 32 | 25 | 9 | M12 | 25 | 65 | 46 | 26 |
| МКГВ-25/ЗФ1К... МКГВ-25/ЗФА1К... МКГВ-26/ЗФА2К... МКГВ-25/ЗФ2К... МКГВ-25/ЗФБ2К... | 109 | 72 | 45 | 34 | 14 | M16 | 33 | 85 | 58 | 21 |
| МКГВ-32/ЗФ1К... МКГВ-32/ЗФА1К... МКГВ-32/ЗФА2К-. МКГВ-32/ЗФ2К... МКГВ-32/ЗФБ2К... | 122 | 85 | 60 | 45 | 17 | M20 | 41 | 102 | 70 | 17 |
производитель
Гидропривод
Если вы хотите купить клапаны гидроуправляемые встраиваемые тип МКГВ , вы можете:
Позвонить:

