Заливные фильтры с сапуном серии QUQ
Заливные фильтры с сапуном серии QUQ предназначены для установки на гидравлические баки, обеспечивая двойную защиту и удобство эксплуатации. Эти фильтры выполняют функцию заливной горловины с крупноячеистым сетчатым фильтром, а также сапуна, предотвращающего загрязнение системы.
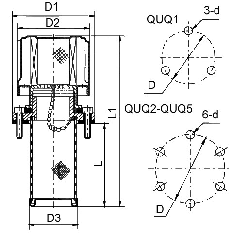
Конструкция заливного фильтра включает две основные части:
- Стальная крышка со встроенным воздушным фильтром.
- Сетчатый фильтр, обеспечивающий эффективное удаление загрязнений.
В комплект поставки входят уплотнительная прокладка и крепежные элементы, что делает установку простой и удобной. Заливные фильтры с сапуном серии QUQ гарантируют надежную защиту гидравлических систем от загрязнений и продлевают срок их службы.

| Модель | Тонкость фильтр., мкм | Производительность по воздуху м3/мин | Комплект винтов | Размер, мм | |||||
| D1 | D2 | D3 | D | L | L1 | ||||
| Заливной фильтр QUQ1 | 10 20 40 | 0,25/0,4/1,0 | 3 - М4х16 | 50 | 44 | 28 | 41 | 82 | 134 |
| Заливной фильтр QUQ2 | 0,63/1,0/2,5 | 6 - М4х8 | 83 | 76 | 48 | 73 | 98 | 159 | |
| Заливной фильтр QUQ2.5 | 1,0/2,0/3,0 | 6 - М4х8 | 123 | 113 | 76 | 110 | 150 | 239 | |
| Заливной фильтр QUQ3 | 1,0/2,5/4,0 | 6 - М4х12 | 160 | 150 | 89 | 145 | 195 | 320 | |
| Заливной фильтр QUQ4 | 2,5/4,0/6,3 | 6 - М10х20 | 280 | 256 | 153 | 250 | 254 | 379 | |
| Заливной фильтр QUQ5 | 4,0/6,3/10 | 6 - M12х20 | 320 | 295 | 197 | 280 | 270 | 395 | |

Если вы хотите купить заливные фильтры с сапуном серии QUQ , вы можете:
Позвонить:

