Шестеренные насосы с мультипликатором для установки на ВОМ тракторов МТЗ
Насос шестеренный с мультипликатором с передаточным отношением 1:3 предназначен для установки на вал отбора мощности тракторов МТЗ. Моут применяться для гидропривода экскаваторов-погрузчиков, а так же для манипулятора лесовозных тележек.
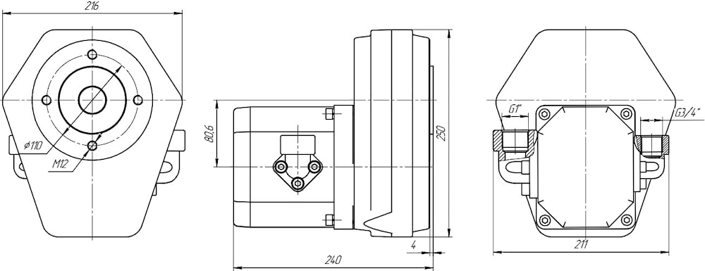
Технические данные:
Номинальное давление - до 230 бар
Номинальная подача при холостых оборотах мотора (540 об/мин на ВОМ) - 70 л/мин.
Имеет следующие преимущества:
- Номинальная подача происходит при холостых оборотах мотора, что экономит топливо и моторесурс.
- Высокая надежность и долговечность
- максимальное давление до 250 бар
- низкий уровень шума, стабильная подача 70 л/мин. на холостых оборотах
- невысокая цена в сравнении с поршневыми насосами.
Подходит для моделей:
Амкодор: 702ЕВ, 702ЕВ-01, 702ЕА-01, 702ЕМ-01, 703М.
СММ Пинск: ЭО2626, ЭО 2621, ЭО 2626-01, ЭО 2626-01
БелТехника-Велс: ЭО 2626ДТ, ЭО 2626 ДТ.2, ЭО 2621ДТ

производитель
GPA
Если вы хотите купить шестеренные насосы с мультипликатором для установки на ВОМ тракторов МТЗ , вы можете:
Позвонить:

